井底車場與硐室培訓教案-中國礦業大學
井底車場與硐室
第一節 井底車場的結構與形式
井底車場是指位於開采水平,連接礦井主要提升井筒和井下主要運輸、通風巷道的若幹巷道和硐室的總稱,是連接井筒提升和大巷運輸的樞紐。它擔負對煤炭、矸石、伴生礦產、設備、器材和人員的轉運,並為礦井通風、排水、動力供應、通信、安全設施等服務。
一、井底車場的結構
由於礦井開拓方式不同,井底車場可分為立井井底車場和斜井井底車場兩大類。因其車場結構基本相同,故這裏隻討論立井井底車場。
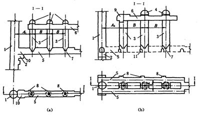
圖9-1為我國年產0.6~1.2Mt礦井常用的環形刀式井底車場立體示意圖;圖9-2為3.0Mt的兗州鮑店煤礦井底車場立體結構示意圖,其煤炭運輸采用膠帶輸送機。從圖中可以看出,井底車場是由主要運輸線路、輔助線路、各種硐室等部分組成。

圖9-1 環行刀式立井井底車場立體示意圖
l-主井,2-副井;3-主排水泵硐室;4-吸水小井;5-翻籠硐室;6-斜煤倉;7-箕鬥裝載硐室;8-清理撤煤斜巷;
9-主井井底水窩泵房;10-防火門硐室;11-調度室;12-等候室;13-馬頭門;14-主變電所,15-管子道;
16-內水倉;17-外水倉;18-機車庫及修理間;19-主要運輸大巷;
Ⅰ-主井重車線;Ⅱ-主井空車線;Ⅲ-副井重車線;Ⅳ-副井空車線;Ⅴ-繞道

圖9-2 膠帶輸送機上倉立井井底車場立體示意圖
1-主井;2-副井,3、4、5-膠帶輸送機巷;6-圓筒煤倉;7-給煤膠帶輸送機巷;8-箕鬥裝載硐室;
9、10-軌道運輸大巷;11-副井重車線;12-副井空車線;13-主井井底清理撒煤硐室;14-副井清理斜巷;
15-主變電所;16-主排水泵硐室;17-水倉;18-調度室;19-機車修理間;20-等候室;
21-消防材料庫;22-管子道
1.主要運輸線路(巷道)
包括存車線巷道和行車線巷道兩種。存車線巷道是指存放空、重車輛的巷道。如主、副井的空、重車線,材料車線等。行車線巷道是指調動空、重車輛運行的巷道。如連接主、副井空、重車線的繞道,調車線,馬頭門線路等。
大型礦井的主井空重車線長度各為1.5~2.0列車長;中小型礦井的主井空重線長度各為1.0~1.5列車長;副井空重車線的長度,大型礦井各按1.0~1.5列車長,中小型礦井按0.5~1.0列車長;材料車線長度,大型礦井應能容納10個以上材料車,一般為15~20個材料車,中小型礦井應能容納5~10個材料車;調車線長度通常為1.0列車和電機車長度之和。
2.輔助線路(巷道)
主要是指通往各種硐室的巷道。如通往主排水泵硐室、水倉的通道,主井撒煤清理斜巷(或水平巷道)及通道,管子道,通往電機車修理庫的支巷等。
3.硐室
為了滿足生產技術、管理和安全等方麵的需要,井底車場內需設置若幹硐室。按它們在井底車場中所處的位置和用途不同可分為副井係統硐室、主井係統硐室以及其它硐室。
(1)副井係統硐室
如圖9-3,副井係統硐室主要包括:
1)馬頭門硐室。位於副井井筒與井底車場巷道連接處,其規格主要取決於罐籠的類型、井筒直徑以及下放材料的最大長度。其內安設搖台、推車機、阻車器等操車設備。材料、設備的上下,矸石的排出,人員的升降以及新鮮風流的進入都要通過馬頭門。

2) 主排水泵硐室和主變電所。主排水泵硐室和主變電所通常聯合布置在副井附近,使排水管引出井外、電纜引入井內均比較方便,且具有良好的通風條件,一旦有水災時可關閉密閉門,使變電所能繼續供電,水泵房能照常排水。水泵房通過管子道與副井井筒相連,通過兩側通道與井底車場水平巷道相連。其內分別安設水泵和變電整流及配電設備,負責全礦井井下排水和供電。
3)水倉。水倉一般由兩條獨立的、互不滲漏的巷道組成,其中一條清理時,另一條可正常使用。水倉入口一般位於在井底車場巷道標高最低點,末端與水泵房的吸水井相連。其內鋪設軌道或安設其他清理泥沙設備,用以儲存礦井井下湧水和沉澱湧水中的泥沙。
4)管子道。其位置一般設在水泵房與變電所連接處,傾角常為25~30°,內安設排水管路,與副井井筒相連。
除以上硐室外,副井係統的硐室還包括等候室和工具室以及井底水窩泵房等。
(2)主井係統硐室
主井係統硐室主要有:
1)推車機、翻車機(或卸載)硐室或膠帶機頭硐室。對於采用礦車運輸的礦井,位於主井空、重車線連接處,其內安設推車機和翻車機,將固定式礦車中的煤卸入煤倉。對於底卸式礦車而言,在卸載硐室內安設有支承托輥、卸載和複位曲軌、支承鋼梁等卸載裝置。對於采用膠帶運輸的礦井,膠帶機頭硐室位於膠帶輸送機巷盡頭,直接卸煤於井底煤倉中。
2)井底煤倉。煤倉的作用是儲存煤炭、調節提升與運輸的關係。煤倉上接翻車機硐室或卸載硐室,下連箕鬥裝載硐室(圖9-14 a)。對於大型礦井,則通過給煤機巷間接與箕鬥裝載硐室相接(圖9-14 b)。
3)箕鬥裝載硐室。 對采用礦車運輸的礦井,箕鬥裝載硐室位於井底車場水平以下(圖9-1),上接煤倉下連主井井筒;當大巷采用膠帶輸送機運輸時,箕鬥裝載硐室可位於井底車場水平以上(圖9-2),這樣可減少主井井筒的深度。其內安設箕鬥裝載(定容或定重)設備,將煤倉中的煤按規定的量裝入箕鬥。
另外,主井清理撒煤硐室位於箕鬥裝載硐室以下,通過傾斜巷道與井底車場水平巷道相連,其內安設清理撒煤設備,將箕鬥在裝、卸和提升煤炭過程中撒落於井底的煤裝入礦車或箕鬥清理出來;主井井底水窩泵房是位於主井清理撒煤硐室以下,其內安設水泵。
(3)其他硐室
1)調度室。 位於井底車場進車線的入口處。其內安設電訊、電氣設備,用以指揮井下車輛的調運工作。
2)電機車庫及電機車修理間硐室。 位於車場內便於進出車和通風方便的地點。其內安設檢修設備、變流設備、充電設備(蓄電池機車)。供井下電機車的停放、維修和對蓄電池機車充電使用。
3)防火門硐室。 多布置在副井空、重車線上離馬頭門不遠的單軌巷道內。其內安設兩道便於關閉的鐵門或包有鐵皮的木門。一旦井下或井口發生火災時用來隔斷風流,防止02manbetx.com 擴大。
此外,在井底車場範圍內,有時還設有乘人車場、消防列車庫、防水閘門等。爆炸材料庫和爆炸材料發放硐室一般設在井底車場範圍之外適宜的地方。
二、井底車場形式
由於井筒形式、提升方式、大巷運輸方式及大巷距井筒的水平距離等不同,井底車場的形式也各異。
井底車場按運行線路不同,可分為環形式、折返式和環形-折返混合式等三種類型。
1.環形式井底車場
(1)立井環形式車場
根據主、副井筒或空、重車線與主要運輸巷道(運輸大巷或石門)的相互位置關係,即相互距離及其方位不同,可將環形式車場分為臥式、斜式和立式三種。
l)臥式:當主、副井筒距主要運輸巷道較近,而且主、副井存車線與主要運輸巷道平行布置時,采用臥式(圖9-4 a)。這種車場兩翼進車、回車線繞道可以全部利用主要運輸巷道,節省開拓工程量。缺點是交岔點及彎道較多,重列車需在彎道上頂車。
2)斜式:當主、副井筒距主要運輸巷道較近,或者由於地麵生產係統的需要,必須使主、副井存車線與主要運輸巷道斜交時,采用斜式(圖9-4 b)。這種車場特點是可以局部利用主要運輸巷道。因車場進車處不宜布置三角道岔,所以,當兩翼來車時,隻有一翼較方便。

圖9-4 立井環形式井底車場
a-臥式;b一斜式;c一立式;d一刀式
l-主井;2-副井;3-翻車機硐室;4-運輸大巷或石門;5-主井重車線;6-主井空車線;
7-副井重車線;8-副井空車線;9-繞道;10-調車線
3)立式:當主、副井筒距主要運輸巷道較遠,而且主、副井存車線與主要運輸巷道垂直時采用立式(圖9-4 c);若主、副井筒距主要運輸巷道更遠時,可采用另一種立式(圖9-4 d),常稱為刀式。前者車場可兩翼來車,並設有專用的回車線,工程量較大,需在彎道上頂車作業。後者車場為甩車、頂車創造了有利條件。
(2)斜井環形式車場
與立井環形式車場一樣,斜井環形式車場也可分成臥式、斜式和立式三種,故其結構特點和優缺點與立井均相同,如圖9-5所示。主斜井一般采用箕鬥或膠帶輸送機,副斜井為串車提升。


圖9-5 斜井環形式車場
a-臥式;b-刀式
1-主斜井;2-副斜井

2.折返式井底車場
(1)立井折返式車場
同樣,根據主副井筒或空、重車線與主要運輸巷道(運輸大巷或石門)的相互位置關係,可將折返式車場分為:梭式和盡頭式兩種。
1)梭式。當主、副井筒距主要運輸巷道很近,而且主、副井存車線與主要運輸巷道合一時,可采用梭式(圖9-6 a)。卸煤方式可用翻車機,也可用底卸式礦車。輔助運輸仍利用環形線路。

2)盡頭式。當主、副井筒距主要運輸巷道遠,而且主、副井存車線與主要運輸巷道垂直時,可采用盡頭式(圖9-6 b)。礦車隻能從一端入場,經卸載後回到始端,車場作業在主石門中進行。這種車場實為單側進車的梭式車場。
(2)斜井折返式車場

斜井折返式車場,因開拓方式和主井提升方式的不同,形式多種多樣。圖9-7表示主井采用膠帶輸送機或箕鬥提升,副井采用串車提升的折返式車場。其特點是:調車作業均在直線上進行,可兩翼進車,左翼來車可采用不解體甩車方式,有利於提供生產能力;另外,該種車場的斷麵類型少,交岔點也少,故巷道掘進工程量小。
由於折返式車場比環形式車場線路彎道少,所以井底車場通過能力大;由於運煤巷道多數與礦井主要運輸巷道合一,交岔點減少,線路結構大大簡化,因此開拓工程量小。正由於折返式車場比環形式車場具有上述顯著的優點,所以目前折返式井底車場越來越廣泛地被應用於各種井型的礦井,尤其對大型礦井,優點更為突出。
3.折返-環形混合式井底車場
在設計中由於各種條件的限製,為解決調頭問題(礦車一端與鏈環焊死),就采用了盡頭-環形混合式井底車場(圖9-8)和梭式-環形混合式井底車場(圖9-9)。混合式車場可以發揮折返式與環形式車場的優點。

圖9-9 梭式-環形混合式井底車場
1-主井;2-副井;3-卸載站;4-翻車機硐室
4.大巷用膠帶輸送機運煤的井底車場
上述的井底車場形式均是以礦車運輸為主的。隨著設計礦井生產能力的擴大和機械化程度的提高,井底車場的結構形式也發生新的變化。例如,在大型礦井中,從采區經大巷到井底車場直到地麵的出煤係統中,采用“一條龍”的膠帶機連續運輸,軌道僅作為輔助運輸;此外,有的礦井一翼采用膠帶機連續運輸,另一翼又采用大容量礦車運輸。這種運輸方式的變化,導致井底車場的結構形式也相應改變,最明顯的改變就在於井底煤倉與箕鬥裝載硐室抬高到井底車場水平以上,使得井底車場結構得以簡化(見圖9-2)。
三、井底車場形式選擇
1.影響選擇井底車場形式的因素
(1)井田開拓方式
井底車場形式隨井筒(硐)形式改變,同時還取決於主副井筒和主要運輸巷道的相互位置,即井底距主要運輸巷道的距離及提升方向。距離近時,可選用臥式環行車場或梭式折返車場;距離遠時,可選用刀式環行車場或盡頭式折返車場;距離適當時,可選用立式或斜式環行車場;當地麵出車方向與主要運輸巷道斜交時,應選擇相應的斜式車場。
(2)大巷運輸方式及礦井生產能力
年產90萬t及其以上礦井,當采用底卸式礦車運煤,應選擇折返式車場。特大型礦井可布置兩套卸載線路;當大巷采用膠帶輸送機運煤時,車場結構簡單,僅設副井環行車場即可;中小型礦井通常采用固定式礦車運煤,可選擇環行或折返式車場。
(3)地麵布置及生產係統
地麵工業場地比較平坦時,車場形式的選擇一般取決於井下的條件。但在丘陵地帶及地形複雜地區,為了減少土石方工程量,鐵路站線的方向通常按地形等高線布置。地麵井口出車方向及井口車場布置也要考慮地形的特點。因此,要根據鐵路站線與井筒相對位置、提升方位角,結合井下主要運輸巷道方向,選擇車場布置的形式。
罐籠提升的地麵井口車場及罐籠進出車方向應與各開采水平井底車場一致,因此有時為了減少地麵土石方工程量,各開采水平井底車場存車線方向可與地麵等高線方向平行。
(4)不同煤種需分運分提的礦井
此時,井底車場應分別設置不同煤種的卸載係統和存車線路。
2.選擇井底車場形式的原則
在具體設計選擇車場形式時,有時可能提出多個方案,進行方案比較,擇優選用。井底車場形式必須滿足下列要求:
(1)車場的通過能力,應比礦井生產能力有30%以上的富裕係數,有增產的可能性;
(2)調車簡單.管理方便,彎道及交岔點少;
(4)井巷工程量小,建設投資省;便於維護,生產成本低;
(5)施工方便,各井筒間、井底車場巷道與主要巷道間能迅速貫通,縮短建設時間。
第二節 井下主要硐室的設計
各種硐室設計的原則和方法基本上是相同的。一般首先根據硐室的用途,合理選擇硐室內需要安設的機械和電氣設備;然後根據已選定的機械和電氣設備的類型和數量,確定硐室的形式及其布置;最後再根據這些設備安裝、檢修和安全運行的間隙要求以及硐室所處圍岩穩定情況,確定出硐室的規格尺寸和支護結構。有些硐室還要考慮防潮、防滲、防火和防爆等特殊要求。
一、箕鬥裝載硐室設計

1.箕鬥裝載硐室與井底煤倉的布置形式
箕鬥裝載硐室與井底煤倉的布置,主要根據主井提升箕鬥及井底裝載設備布置方式、煤種數量及裝運要求、圍岩性質等因素綜合考慮確定。以往中小型礦井廣泛采用箕鬥裝載硐室與傾斜煤倉直接相連的布置形式(圖9-10);對於井型為90~240萬t的大型礦井,由於要求煤倉容量較大,所以多采用一個直立煤倉通過一條裝載膠帶輸送機與箕鬥裝載硐室(單側式)連接(圖9-11);對於300萬t/a以上的特大型礦井,要求煤倉容量更大,需采用多個直立煤倉通過一條或兩條裝載膠帶輸送機巷與單側或雙側式箕鬥裝載硐室連接(圖9-12)。
箕鬥裝載硐室的形式主要取決於箕鬥和箕鬥裝載設備的類型及裝載方式。根據箕鬥在井下裝載和地麵卸載的位置和方向,硐室有同側裝卸式(裝載與卸載的位置和方向在同一側進行)和異側裝卸式(裝載與卸載的位置和方向在相反一側進行)之區分。每類又可分為通過式和非通過式兩種。當硐室位於中間生產水平,同時在兩個水平出煤時,采用通過式;當硐室位於礦井最終生產水平或固定水平時,采用非通過式。主井內僅有一套箕鬥提升設備時,箕鬥裝載硐室為單側式(硐室位於井筒一側);若有兩套箕鬥提升設備時,裝載硐室為雙側式(井筒兩側設箕鬥裝載硐室)。
2.箕鬥裝載硐室位置
箕鬥裝載硐室由於與井筒連接在一起且服務於生產的全過程,掘進時圍岩暴露麵積較大,所以應該布置在沒有含水層、沒有地質構造、圍岩堅固處,以便施工和維護。一般當大巷采用礦車運輸時,硐室位於井底車場水平以下;但采用膠帶輸送機運輸時,硐室位於井底車場水平以上。
兗州鮑店煤礦年設計生產能力300萬t,主井淨直徑6.5m、深474.7m,井內裝備兩對12t箕鬥,井底車場位於-430m水平,裝載係統位於-350m水平。主井井筒的兩對箕鬥並列呈單麵布置。硐室上方經膠帶輸送機巷與3個並列的淨徑8m的圓筒式煤倉相連,見圖9-13。

圖9-12 箕鬥裝載硐室與多個垂直煤倉布置形式
l-主井井筒;2-箕鬥裝載硐室;3-垂直煤倉;4-膠帶輸送機機頭硐室;5-裝載膠帶輸送機巷;
6-配煤膠帶輸送機巷;7-給煤機硐室;8-機電硐室;9-翻籠硐室;10-裝載膠帶輸送機機頭硐室;11-通道;
A1-井筒中心線與煤倉中心線間距,A1=15~25m;A2-井筒中心線與煤倉中心線間距,A2=20~35m;
B-煤倉中心線間距,B=20~30m,C-兩條裝載膠帶輸送機巷間之間距,C=10~12m
3.箕鬥裝載硐室的斷麵形狀及尺寸確定

箕鬥裝載硐室的斷麵形狀多為矩形,當圍岩較差,地壓較大時可以采用半圓拱形。箕鬥裝載硐室的尺寸,主要根據所選用的裝載設備的型號、設備布置、設備安裝和檢修,以及考慮人行道和行人梯子的布置要求來確定。
箕鬥裝載設備有非計量裝載與計量裝載兩種形式,見圖9-14。圖中l1、l2、l3、l4、t的尺寸由所選用的裝載設備、給煤機的尺寸及其安裝、檢修和操作要求而確定;l5、l7由選定的翻車機設備或卸載曲軌設備的尺寸和安裝要求確定;l6、l8則根據煤倉上、下口結構尺寸的合理性來確定。A主要取決於翻籠硐室或卸載硐室與井筒之間岩柱的穩定性。若采用的是傾斜煤倉,則還與傾斜煤倉的容量及為保證煤沿煤倉底板自由下滑不致堵塞的傾角(一般
=50~55°)的大小有關,一般9~16m。若采用垂直煤倉,A=15~40m。
4.箕鬥裝載硐室的支護
箕鬥裝載硐室的支護可用素混凝土和鋼筋混凝土,其支護厚度取決於硐室所處圍岩的穩定性和地壓的大小。一般圍岩較好、地壓較小的,僅布置一套裝載設備的箕鬥裝載硐室,可采用C15~C20,300~500mm厚的素混凝土支護;當圍岩較鬆軟、地壓較大又布置有兩套裝載設備的箕鬥裝載硐室,可采用C15~C20,厚400~500mm鋼筋混凝土支護。

圖9-14 箕鬥裝載硐室主要尺寸確定圖
(a)非計量裝載硐室;(b)計量裝載硐室
二.井底煤倉設計
為了保證礦井均衡連續的生產,縮短裝載時間,提高運輸和提升效率,一般應在井底車場內設置井底煤倉和上山采區下部車場設置采區煤倉。
1.煤倉的形式與斷麵形狀
井底煤倉根據圍岩穩定性及礦井年生產能力的大小,有傾斜煤倉與直立煤倉兩種形式,見圖9-4。傾斜煤倉適用於圍岩較好、開采單一煤種或開采多煤種但不要求分裝分運的中小型礦井。垂直煤倉適用於圍岩較差、可以分裝分運的大型礦井。無論垂直式或傾斜式煤倉,其下部都要收縮成截圓錐形或四角錐形,以便安裝閘門。水平煤倉目前在國外應用較廣泛,國內晉城礦務局已試驗成功。
垂直煤倉多為圓形斷麵,傾斜煤倉為半圓拱形斷麵。傾斜煤倉的一側應設人行通道,寬為1.0m左右,內設台階及扶手以便行人。在煤倉與人行道間牆壁上設檢查孔,寬×高為500mm×200mm。檢查孔上設鐵門,以檢查煤倉磨損和處理堵倉02manbetx.com 。垂直煤倉底部收縮成圓錐形或雙曲麵形,設計為錐形斷麵時應設壓氣破拱裝置,以免堵倉。
2.煤倉容量的確定
煤倉容量取決於礦井的生產能力、提升能力以及井下的運輸能力等諸多因素。《煤炭工業設計規範》規定:“井底煤倉的有效容量,對中型礦井一般按提升設備每0.5~1h所提升的煤量計算;對大型礦井一般按提升設備每1~2h所提升的煤量計算。”以往多用的傾斜煤倉容量較小,一般為40~60t。近年來隨著井型增大,容量大的垂直煤倉廣泛被采用,容量一般在300~600t之間,最大已達3000t(山西陽泉一礦北頭嘴井)、大容量煤倉對礦井提升和井下運輸煤炭具有調節和貯存作用。但是,也應當看到,煤倉容量過大,勢必增加工程量,延長施工工期。其合理容積可按下式計算:
(9-l)
式中,Q為井底煤倉有效容量,t;A為礦井設計日產量,t;0.15~0.25為係數,大型礦井取小值,中型礦井取大值。
國外大型礦井的井底煤倉的容量,是按礦井生產煤量與提升煤量的差值來確定的,並在采區設活動煤倉。
3.煤倉支護
煤倉應盡量布置在圍岩穩定、易於維護的部位,以達到施工方便、安全,加快施工速度,節約投資的目的。
煤倉開在中硬岩層內時,傾斜煤倉用C20素混凝土支護,厚度取250~350mm;垂直煤倉可用錨噴支護或C20素混凝土支護,素混凝土支護時可取300~400mm,錨噴支護應根據直徑的大小進行設計。當井底煤倉位於軟弱岩層中(或煤層中)時,采用鋼筋混凝土支護。煤倉底板應采用耐衝擊、耐磨且光滑的材料鋪底。直立煤倉的鋪底材料可采用鐵屑混凝土和石英砂混凝土,標號不小於C20,厚度80~150mm。傾斜煤倉鋪底材料多用鋼軌,一般用15~24kg/m鋼軌正反交替布置或軌頭向上布置,其間隙可充填普通混凝土或石英砂混凝土。
三.副井馬頭門設計
馬頭門是指立井井筒與井底車場巷道的連接部分(或交彙處),實際上它是垂直巷道與水平巷道相交的一種特殊形式的交岔點。但是人們習慣稱為馬頭門,而且通常是指罐籠立井與井底車場巷道的連接部。
馬頭門的設計原則和依據是以提升運輸要求、通風和升降人員的需要為前提的,設計內容包括馬頭門型式的選擇、馬頭門的平麵尺寸和高度的確定、斷麵形狀和支護方法的選擇。
1.馬頭門的形式
馬頭門的形式主要取決於選用罐籠的類型、進出車水平數目,以及是否設有候罐平台。
當采用單層罐籠,或者采用雙層罐籠但采用沉罐方式在井底車場水平進出車和上下人員時;或者采用雙層罐籠,用沉罐方式在井底車場水平進出車,而上下人員同時在井底車場水平和井底車場水平下麵進行時,通常用雙麵斜頂式馬頭門,如9-16 a所示。
當采用雙層罐籠,用沉罐方式進出車,進車側設固定平台,出車測設活動平台,上下人員可以同時在兩個水平進出時;或者當采用雙層罐籠,設有上方推車機及固定平台,雙層罐寵可在兩個水平同時進出車和上下人員時,可以采用雙麵平頂式馬頭門,如圖9-16 b所示。

圖9-16 馬頭門的形式
2.馬頭門平麵尺寸的確定
馬頭門的平麵尺寸包括長度和寬度。長度是指井筒兩側對稱道岔基本軌起點之間的距離,它主要取決於馬頭門軌道線路的布置和安設的搖台、阻車器和推車機等操車設備的規格尺寸,以及井筒內選用的罐籠布置方式和安全生產需要的空間來確定。現以雙股道為例說明馬頭門平麵尺寸的確定方法,如圖9-17所示。
馬頭門的長度按下式計算:
(9-2)
式中,L-馬頭門的長度,m;
L0-罐籠的長度.m,
L4、
-分別為進、出車側搖台的搖壁長度,m;
L3、
-分別為進、出車側搖台基本軌起點至搖台活動軌轉動中心的距離,m;
L2-搖台基本軌起點至單式阻車器輪擋麵之間的距離,m;
b3-單式阻車器輪擋麵至對稱道岔連接係統終點之間的距離,視有無推車機分別取4輛礦車長或1~2輛礦車長,m;
b4-搖台基本軌起點至對稱道岔連接係統終點之間的距離,m;
L1-對稱道岔基本軌起點至對稱道岔連接係統終點之間的距離,其長度根據選用道岔類型、軌道中心線間距按線路連接係統可計算出,m;
b2-對稱道岔基本軌起點至複式阻車器前輪擋麵之間的距離,m;
b1-複式阻車器前輪擋麵至後輪擋麵之間的距離,m;
L5-單開道岔基本軌起點至材料車線進口變正常軌距之間的距離,其長度可以按單開道岔平行線路連接係統計算出,m。

圖9-17 副井馬頭門二股道平麵尺寸確定圖
2.馬頭門寬度確定
馬頭門寬度則取決於井筒裝備、罐籠布置方式和兩側人行道的寬度。馬頭門兩側巷道均應設雙邊人行道,各邊的寬度不應小於900mm,對於綜合機械化采煤礦井,按照現行《煤礦安全01manbetx 》要求,不應小於1000mm
馬頭門的寬度可按下式計算:
(9-3)
式中,B-馬頭門的寬度,m;
-為軌道中心線之間距離,即等於井筒中罐籠中心線間距,m;
A-非梯子間側軌道中心線至巷道壁距離,一般取A≥礦車寬/2+0.8m;
C-梯子間側軌道中心線至巷道壁距離,一般取C≥礦車寬/2+0.9m;

馬頭門的寬度通常在重車側自對稱道岔(或單開道岔)連接係統終點開始縮小,至對稱道岔(或單開道岔)基本軌起點收縮至單軌巷道的寬度。但是在空車側,過了對稱道岔(或單開道岔)基本軌起點不遠即進入雙軌的材料存車線。為了減少井底車場巷道的斷麵變化和方便施工,往往空車側馬頭門的寬度不再縮小。
3.馬頭門高度的確定
馬頭門的高度,主要取決於下放材料的最大長度和方法、罐籠的層數及其在井筒平麵的布置方式、進出車及上下人員方式、礦井通風阻力等多種因素,並按最大值確定。
我國井下用最長材料是鋼軌和鋼管,一般為12.5m。8m以內的材料放在罐籠內下放(打開罐籠頂蓋),而超過8m的長材料則吊在罐籠底部下放。此時,材料在井筒與馬頭門連接處的最小高度按圖9-18所示,並按公式(9-4)計算。
(9-4)
式中,Hmin-下放最長材時馬頭門所需的最小高度,m;
L-下放材料的最大長度,取L=12.5m;
W-井筒下放材料的有效弦長。當有一套 提升設備時,取W= 0.9D;若有兩套提升設備,W可根據井筒斷麵布置計算出;
D-井筒淨直徑,m;
-下放材料時,材料與水平麵的夾角,
,當D = 4~8m,L=12.5m時,
。
隨著井筒直徑的增加,下放最大長材已不是確定馬頭門最小高度的主要因素,最小高度主要取決於罐籠的層數、進出車方式和上下人員的方式。另外,大型礦井尤其是高瓦斯礦井,井下需要的風量很大,若馬頭門高度低了,斷麵必然縮小,通風阻力會增大。因此,馬頭門高度按上述因素確定後還應按通風要求進行核算,並且馬頭門的淨高度不應小於4.5m。馬頭門最大斷麵處高度確定後,隨著向空、重車線兩側的延伸,拱頂逐步下降至正常巷道的高度。一般副井馬頭門的拱頂坡度為10°~15°,風井馬頭門的拱頂坡度為16°~18°。
4.馬頭門斷麵形狀及支護
由於馬頭門與井筒連接處斷麵大(如常村煤礦副井馬頭門掘進寬8.21m,高14m,掘進斷麵積為109m2)、地壓大,所以,馬頭門斷麵形狀多選用半圓拱形。當頂壓和側壓較大時,可采用馬蹄形斷麵;當頂壓、側壓及底壓均較大時,可采用橢圓形或圓形所麵。
馬頭門的支護材料多用C20以上混凝土。通常圍岩的堅固性係數f = 4~6時,支護厚度為500~600mm,馬頭門上、下2.5m範圍內的一段井筒的井壁還應適當加厚100~200mm,以便安設金屬支撐結構物。當圍岩不穩定、地壓大,或馬頭門與井筒連接處高度和寬度均較大時,可采用鋼筋混凝土支護,配筋率為0.75~1.5%。當連接處位於膨脹性岩層時,可采用錨噴或加金屬網作為臨時支護,然後再砌築永久混凝土或鋼筋混凝土支護。
四、主排水泵硐室設計
主排水泵硐室由泵房主體硐室、配水井、吸水井、配水巷、管子道及通道組成,見圖9-19。主排水泵硐室和水倉構成了中央排水係統。主排水泵硐室按水泵吸水方式不同,又可分為臥式水泵吸入式、臥式水泵壓入式以及潛水泵式三種。第一種應用最為廣泛,第二種為少數金屬礦和煤礦采用,個別礦山采用第三種。現以臥式水泵吸入式中央泵房為例說明其設計方法。

圖9-19 臥式水泵吸入式主排水泵硐室主體硐室平麵布置
1-主體硐室;2-配水巷;3-水倉;4-吸水小井;5-配水井;6-主變電所;7-水泵和電動機;8-軌道;
9-通道;10-柵欄門;11-密閉門;12-調車轉盤;13-防火門;14-管子道;15-帶閘門的溢水管;16-副井井筒
1.泵房的位置
為縮短電纜和管道線路,便於排水設備運輸,提供良好的通風條件,以及有利於集中管理、維護和檢修,水泵房在絕大多數情況下都設在井底車場副井附近的空車線一側,並與主變電所組成聯合硐室。泵房與相鄰巷道的連接方式,應根據井筒位置、井底車場布置、圍岩等條件具體確定。泵房通道與井底車場巷道的運輸要通過道岔直接相連接(圖9-20 a),或設轉盤相連(圖9-20b)。管子道與立井連接時,可布置在井筒出車側(圖9-20 a),也可布置在井筒進車側(圖9-20 b)。

圖9-20 主排水泵房與相鄰巷道連接方式
1-主排水泵房;2-管子道;3-通道;4-主變電所;5-車場巷道;6-副井井筒;7-水倉;
8-密閉門;9-防火門;10-井底車場聯絡巷道
2.配水井、配水巷和吸水井的布置
配水井、配水巷和吸水井構成配水係統,三者關係見圖9-21。
配水井位於泵房主體硐室吸水井一側,一般布置在中間水泵位置,與中間吸水井通過溢水管直接相連。根據配水井上部硐室安設配水閘閥的要求,一般配水井的尺寸是平行配水巷方向長2.5~3.0m,垂直配水巷方向寬為2.0~2.5m,深5~6m。配水井井底底板標高應低於水倉底板標高1.5m。
配水巷也位於吸水井一側,通過溢水管與配水井和吸水井相通。為了便於施工和清理,配水巷斷麵為寬1.0~1.2m,高1.8m的半圓拱形,其底板標高高於吸水井井底1.5m。
吸水井位於主體硐室靠近水倉一側,斷麵為圓形,淨徑為1.0~1.2m,深5~6m。正常情況下每台水泵單獨配一個吸水井。當每台水泵排水量小於100m3/h時,亦可兩台水泵共用一個吸水井,但要保證兩個吸水籠頭之間距離不能小於吸水管直徑的兩倍。有時視圍岩穩定情況和排水設備性能,可以不設配水井和配水巷,隻設一個大的吸水井,中間隔開,每兩台水泵共用1個吸水井。

圖9-21 配水係統布置圖
1-水泵及電動機;2-吸水小井;3-配水巷;4-配水井;5-水倉;6-帶閘閥的溢水管
3.水倉
水倉由主倉和副倉(或稱內倉與外倉)組成,兩者之間的距離視圍岩穩定程度確定,一般為15~20m。當一條水倉清理時,另一條水倉能滿足正常使用。水倉一般應布置在不受采動影響,且含水很少的井底車場穩定的底板岩石中。隨著礦井設計模式的變化,水倉也有設在井底附近的煤層中,如兗州濟寧三號礦井水倉,作方格布置,容量達40000m3。
一般情況下,水倉入口設在井底車場巷道標高的最低點,即副井空車線的終點(圖9-22 a)。當礦井湧水量大或采用水砂充填的礦井,水倉入口可布置在石門或運輸大巷的進口處。兩條水倉入口可布置在同一地點(圖9-22 b),亦可分別布置在兩個不同的地點(圖9-22 c)這樣采區來的水在井底車場外就進入水倉了,井底車場內的湧水就需要經過泄水孔流入水倉。但由於車場中各巷道的坡度方向不同,在車場繞道處的水溝坡度與巷道的坡度要相反(即反坡水溝),以便將車場巷道標高最低點處之積水導入泄水孔進入水倉。為保證一個水倉進行清理時,其一翼的來水應能引入另一水倉,所以在泄水孔處的一段水溝應設轉動擋板(圖9-22 d)。由於水倉的清理為人工清倉、礦車運輸,所以水倉與車場巷道之間需設一段斜巷,它既是清理斜巷又是水倉的一部分。

圖9-22 水倉的布置形式
水倉的容量根據《煤礦安全01manbetx 》有關規定按以下情況分別確定,當礦井正常湧水量小於或等於1000m3/h時,水倉有效容量按下式計算:
Q=8Q0(9-5)
式中,Q為水倉的有效容量,m3;Q0為礦井正常湧水量,m3/h。
當礦井正常湧水量大於1000m3/h時,水倉有效容量按下式計算:
Q=2(Q0+3000)>4Q0(9-6)
式中符號意義同前。此時水倉容量按4h正常湧水量計算而不是8h計算。因為淹井02manbetx.com 的發生不是因水倉容積小而造成的。當Q0>1000m3/h時,若按8Q0計算,則Q太大,水倉工程量太大,保安煤柱要求過大,很不合理。
水倉的長度和其斷麵積當其容量一定時是相互製約的。為利於澄清水中泥砂和雜物,水倉中水的流速一般為0.003~0.007m/s。
4.主體泵房的設備布置
(1)水泵
主排水泵硐室的主體硐室中,水泵一般沿硐室縱向單排布置(圖9-19),以減小硐室的跨度,有利於施工和維護。當水泵數量很多,圍岩又堅固穩定時,水泵亦可雙排布置。
(2)排水管
根據礦井正常湧水量和最大湧水量,選擇排水管的直徑和敷設趟數。一般情況下要設置2~3趟,其中一趟作為備用。排水管的鋪設采用10~14號槽鋼或工字鋼製成托管架,裝設於距硐室地坪2.1~2.5m高處的硐室壁上。
(3)電纜與電氣設備
電纜的敷設有沿牆懸掛和設電纜溝兩種方式。前者使用與檢修方便,但長度增加,故采用電纜溝敷設較多。電纜溝尺寸按敷設電纜的數量確定。
(4)起吊和運輸設備
為便於安裝、檢修水泵,敷設管線,在每組水泵和電機中心處預埋兩根18~33號工字鋼作為起吊橫梁,橫梁高度為2.4~3.4m,距拱頂為0.9~1.2m。硐室中靠近管子道的一側鋪設輪軌,與管子道和通道銜接處設轉盤,完成設備運輸的垂直轉向。
5.主體硐室尺寸的確定(見圖9-23)
(1)硐室的長度由下式確定:
(9-7)
式中,L-主體硐室的長度,m;
n-水泵台數,根據其正常湧水量和最大湧水量選用,應考慮工作、備用和檢修台數;
l1-水泵及其電機的基礎長度,m;
l2-相鄰兩台水泵和電機基礎之間的距離,一般為1.5~2.0m;
l3、l4-為硐室端頭兩側的基礎距硐室端牆或門之間的距離,一般為2.5~3.0m。

圖9-23 主體硐室尺寸確定圖
(2)硐室寬度由下式確定:
(9-8)
式中,B-主體硐室的寬度,m;
b1-吸水井一側,水泵基礎至硐室牆之間的檢修距離,一般為0.8~1.2m;
b2-水泵和電機基礎寬度,m;
b3-鋪設軌道一側,水泵基礎至硐室牆的距離,一般取1.5~2.2m。
(3)硐室的高度以下式確定:
(9-9)
式中,H-主體硐室高度,m;
h1-水泵基礎頂麵至硐室地麵高度,一般為0.1~0.2m;
h2-水泵的高度,m;
h3-閘板閥的高度,m;
h4-逆止閥的高度,m;
h5-四通接頭高度,m;
h6-三通接頭高度,m;
h7-三通接頭至起重梁高度,一般大於0.5m;
h8-起重梁到拱頂的高度,一般為0.9~1.2m。
根據經驗,設備的基礎一般埋入底板0.8~1.2m,高出地表0.1~0.2m。
6.主體硐室的斷麵形狀及支護
主體硐室的斷麵形狀可根據岩性和地壓大小確定,一般情況下采取直牆半圓拱斷麵。硐室內應澆築100mm厚混凝土地麵,並高出通道與井底車場連接處車場底板0.5m。硐室多用現澆混凝土支護,並做好防滲漏工作。當圍岩堅固無淋水時,亦可采用光爆、錨網噴支護。

7.管子道與泵房通道設計
管子道平、剖麵見圖9-24。管子道與井筒連接處底板標高應高出硐室地麵標高7m以上,其傾角一般為30°左右。為搬運設備方便,管子道與井筒連接處應設一段3m左右的平台,出口對準一個罐籠,以便裝卸設備、上下人員方便。管子道應設置人行台階、托管支架和電纜支架,以利檢修。
泵房通道是主體硐室與井底車場的連接通道,斷麵形狀可采用半圓拱,其尺寸應根據通過的最大設備外形尺寸來確定。從通道進、出口起5m內,巷道要用非燃性材料支護,並裝有向外開的防火鐵門。鐵門全部敞開時,不得防礙巷道交通。鐵門上要裝有便於關嚴的通風孔,以便必要時隔絕通風。鐵門內加設向外開的不妨礙鐵門開閉的鐵柵欄門。泵房與變電所之間應設防火鐵門,牆上設電纜套管,鐵門結構與通道上的密閉鐵門相似。
五、井下主變電所的設計特點
井下主變電所是井下總配電站,由地麵經井筒引入的高壓電流經過配電、變電和整流給井下提供動力和照明之用。
由於井下主排水泵是主要用電戶,為了節省電纜和一旦礦井發生突發02manbetx.com 時仍能延緩其工作時間,所以主變電所和主排水泵硐室通常建成聯合硐室,設置於副井井筒附近。
主變電所由配電室(兼整流)、變電器室和通道組成。其設計特點有:
1.變電所的布置形式與尺寸,主要根據所選用的變電器、高低壓開關櫃、整流設備以及直流配電櫃等設備配置的數量、外形輪廓尺寸、維修設備的要求和行人安全間隙等因素確定。為節省工程量,在不妨礙通道內各種安全設施布置的前提下,常采用“L”形布置。
2.通道內以及變電所與水泵房之間應設置容易關閉的、既能防水又能防火的密閉門。
3.變電所的地坪標高應高出通道與井底車場連接處軌麵標高0.5m。一般變電所的地坪標高還應高於水泵房的地坪標高0.3m。
4.由於地麵變電所的高壓電纜通常是自副井井筒經管子道引入變電所的,所以不需再設置專門的電纜通道。在配電室內設電纜溝,電纜懸掛或架於電纜溝中的托架上。
5.變電所與主排水泵硐室聯合建造,對於大型水泵房,由於電機發熱量較大,有時使兩個硐室的室溫超過30℃,所以要創造良好的通風條件,采取專門的降溫措施,使硐室本身的溫度差不超過10℃。
6.變電所的斷麵形狀和支護與聯合建築的主排水泵硐室的斷麵形狀和支護是一致的。
第三節 硐室施工
一、我國硐室施工技術的發展
隨著我國煤礦井巷施工技術的發展,經過不斷總結與改革,逐步形成了具有煤礦特色的一套先進的硐室施工方法。近二十多年來,硐室施工技術的改革主要表現在以下幾個方麵:
(1)在硐室工程中成功地應用了光爆錨噴技術。光麵爆破使硐室斷麵成形規整,減輕了對圍岩的震動破壞,有利於提高圍岩的穩定性,從而為錨噴支護創造了有利的條件;錨噴支護能及時地封閉和加固圍岩,縮短硐室圍岩的暴露時間,並且錨噴支護本身剛度適宜,具有一定可縮性,它既允許圍岩產生一定量的變形移動以發揮圍岩自身承載能力,同時又能有效地限製圍岩發生過大的變形。因此,光爆錨噴技術可以綜合有效地提高圍岩穩定性和施工作業的安全性,大大地減少硐室施工的難度。
(2)由於錨噴技術在硐室工程中的應用,促進了硐室施工方法的簡化。用自上向下分層施工法逐步取代了自下向上分層施工法,全斷麵施工逐步取代了導硐法施工。下行分層施工和全斷麵施工法具有步驟簡單、效率高、進度快、安全和質量容易保證,使硐室工程的施工工期大為縮短。
(3)硐室支護多采用錨、噴、網、砌複合支護形式和“二次支護”技術,即先進行一次支護,再進行二次支護。一次支護選用具有一定可縮性的錨噴網支護型式,既起到臨時支護的作用,其本身又是永久支護的組成部分,待硐室全部掘出以後,再在一次支護的基礎上進行二次支護;二次支護現多選用剛性較大的混凝土或鋼筋混凝土整體澆築,也可用錨噴網支護。複合支護型式和二次支護技術具有先柔後剛的特性,能較好地適應開硐後圍岩壓力變化規律,是硐室支護工程中的重大革新和突破,它不僅保證了施工的安全,而且由於連續施工,整體性好,改善了工程的支護質量。
(4)采用了先進的設備和工藝,提高了硐室施工的機械化水平。如使用反井鑽機鑽擴井下圓筒式煤倉、立井砌壁中用液壓滑升模板過馬頭門和箕鬥裝載硐室等,改善了作業環境,減輕了勞動強度,加快了工程進度,提高了工程質量。
施工技術的進步,改善了硐室工程施工的麵貌,我國煤礦井下的不少硐室施工都取得了速度快、效率高、質量好、成本低的技術經濟效果,為我國硐室工程積累了寶貴的經驗。
二、硐室施工特點
井底車場內的各種硐室由於用途不同,其結構,形狀和規格也相差很大。與巷道相比,具有以下特點:
(l)硐室的斷麵大、長度小,進出口通道狹窄,服務年限長,工程質量要求高,一般要求防水、防潮、防火等性能。
(2)硐室周圍井巷工程較多,一個硐室常與其它硐室或井巷相連,因而硐室圍岩的受力情況比較複雜,難以準確03manbetx ,硐室支護較為困難。
(3)多數硐室安設有各種不同的機電設備,故硐室內需要澆築設備基礎,預留管纜溝槽以及安設起重梁等。
考慮硐室施工,除應注意其本身特點外,還要和井底車場的施工組織聯係起來,考慮到各工程之間的相互關係與合理安排。
硐室圍岩穩定性基本取決於自然因素(圍岩應力、岩體結構、岩石強度、地下水等)和人為因素(位置、斷麵形狀、尺寸、支護方式、施工方法等)。在設計和施工時,均應綜合考慮這些因素對硐室圍岩穩定性的影響。必須明確,硐室圍岩的穩定性與硐室施工方法有關,選擇硐室密集區域的硐室施工方法時,應合理安排硐室的施工順序並根據圍岩的穩定性03manbetx 、判斷允許岩石暴露的麵積和時間,以選擇合理的掘進方法。
在確定硐室施工方法前應作好硐室圍岩的工程地質和水文地質勘測工作,以便對圍岩的穩定性作出評價,並以此為基礎正確地選擇硐室的掘進方法和支護型式與參數。
三、硐室施工方法
硐室施工方法的選擇,主要取決於硐室斷麵大小和圍岩的穩定性。而圍岩的穩定性不僅與硐室圍岩的工程地質和水文地質條件等自然因素有關,而且與硐室的斷麵形狀、施工方法以及支護型式等人為因素有關。根據硐室斷麵大小和圍岩的穩定狀況,我國煤礦井下硐室施工方法可分為三類:即全斷麵施工法、分層施工法和導硐施工法。
1.全斷麵施工法
全斷麵施工法是按硐室的設計掘進斷麵一次將硐室掘出,與巷道施工方法基本相同。有時因硐室高度較高,打頂部炮眼比較困難,全斷麵可實行多次打眼和爆破,即先在硐室斷麵的下部打眼放炮,暫不出矸,站在矸石堆上再打硐室斷麵上部的炮眼,爆破後清除部分矸石,隨之進行臨時支護,然後再清除全部矸石並支護兩幫,從而完成一個掘進循環。
全斷麵施工法一般適用於圍岩穩定、斷麵高度不很大(小於5m)的硐室。由於全斷麵施工的工作空間寬敞,施工機械設備展得開,故具有施工效率高、速度快、成本低等特點。
2.分層施工方法
分層施工方法是將硐室沿其高度分為幾個分層,采用自上向下或自下向上的順序進行分層施工,有利於正常的施工操作。根據施工條件,可以采用在逐段分層掘進,隨之進行臨時支護,待各個分層全部掘完之後,再由下而上一次連續整體地完成硐室的永久支護;也可以采用掘砌完一個分層,再掘砌下一個分層;還可以將硐室各分層前後分段同時施工,使硐室斷麵形成台階式工作麵。上分層超前的稱正台階工作麵,下分層超前的稱倒台階工作麵。
(1)正台階工作麵(下行分層)施工法
按照硐室的高度,整個斷麵可分為2~3個以上分層,每分層的高度以2.0~3.0m為宜;也可以按拱基線分為上、下兩個分層。上分層的超前距離一般為2~3m,如圖9-25所示。

圖9-25 正台階工作麵施工法
如果硐室是采用砌镟支護,在上分層掘進時應先用錨噴支護進行維護,砌镟工作可落後於下分層掘進麵1.5~3.0m,下分層也隨掘隨砌,使牆緊跟迎頭。整個拱部的後端與牆成一整體,所以是安全的。
采用這種施工方法應注意的問題是:要合理確定上下分層的錯距,距離太大,上分層出矸困難;距離太小,上分層鑽眼困難,故上下分層工作麵的距離以便於氣腿式鑿岩機正常工作為宜。圖9-26為遼寧原撫順礦務局龍鳳礦水泵房正台階工作麵施工法。

圖9-26 龍鳳礦水泵房正台階工作麵施工法
這種施工方法的優點是施工方便,有利於頂板維護,下台階爆破效率較高。缺點是使用鏟鬥裝岩機時,上台階要人工扒矸,勞動強度較大,上下台階工序配合要求嚴格,不然易產生相互幹擾。
(2)倒台階工作麵(上行分層)施工法
如圖9-27,下部工作麵超前於上部工作麵。施工時先開挖下分層,上分層的鑿岩、裝藥、連線工作借助於臨時台架。為了減少搭設台架的麻煩,下分層的掘進矸石先不要排出,以便上分層掘進時代替臨時台架進行作業。

圖9-27 倒台階工作麵施工法
采用錨噴支護時,支護工作可以與上分層的開挖同時進行,隨後再進行牆部的錨噴支護;采用混疑土支護時,下分層工作麵Ⅰ超前4~6m,高度為設計的牆高,隨著下分層的掘進先砌牆,Ⅱ分層隨挑頂隨砌築拱頂。這種方法的優點是:不必人力扒矸,爆破條件好,施工效率高,砌镟時拱和牆接茬質量好。缺點是:挑頂工作較困難,下分層需要架設臨時支護,故不宜采用。
分層施工法一般適用於穩定或中等穩定的圍岩,掘進斷麵麵積較大的硐室。由於這種施工方法的空間寬度較大,工人作業方便。因此,與導硐施工法相比,具有效率高、速度快、成本低等特點。

3.導硐施工法
導硐施工方法曾廣泛用於圍岩穩定性差、斷麵積特大的硐室。其施工特點是在硐室的某一部位先用小斷麵導硐掘進,然後再行開幫、挑頂或挖底,將導硐逐步擴大至硐室的設計斷麵。根據導硐所在位置的不同,有中央下導硐施工法、頂部導硐施工法、兩側導硐施工法之分。某特大斷麵硐室導硐施工法的施工順序如圖9-28所示,該硐室斷麵為馬蹄形,掘進斷麵積為147.6m2,劃分為七個較小斷麵,分五次施工完。由於該法是先導硐後擴大,逐步地分部施工,能有效地減少圍岩的暴露麵積和時間,使硐室的頂、幫易於維護,施工安全得以保障。但該法存在步驟多、效率低、速度慢、工期長、成本高等缺點。
為安全和施工方便起見,在礦井開拓設計中,應盡量避免將硐室布置在不穩定岩層中。若從多方麵考慮、比較後,仍須開在不穩定岩層中,那就應該采取可靠的技術措施,保證硐室施工的安全和施工質量。
四、與井筒相連硐室的施工方法
馬頭門和箕鬥裝載硐室是直接與副、主井井筒相連的兩個主要硐室,其施工方法與一般硐室相同,但是由於它們與立井井筒相連,必須考慮與井筒施工的關係和對鑿井設備的利用。
1.馬頭門施工方法
馬頭門施工一般安排在鑿井階段進行,有些情況下也可與井筒順序施工。
(1)馬頭門與井筒同時施工
馬頭門因與井筒相連接,斷麵較大,又受施工條件的限製,一般多采用自上而下分層施工法,如圖9-29所示。當井筒掘進到馬頭門上方5m左右處,井筒停止掘進,先將上段井壁砌好。隨後井筒繼續下掘,同時將馬頭門掘出,也可以將井筒掘到底或掘至馬頭門下方的混凝土壁圈處,由下而上砌築井壁至馬頭門的底板標高處,再逐段施工馬頭門。當岩層鬆軟、破碎時,兩側馬頭門應分別施工;在中等以上穩定岩層中,兩側馬頭門可以同時施工,掘進時可采用錨噴作臨時支護。為了加快馬頭門施工的速度,可安排與井筒同時自上而下分層施工馬頭門,如圖9-30所示。


圖9-29 馬頭門的施工順序 圖9-30 馬頭門與井筒同時施工法(下行分層施工法)

兗州礦區鮑店煤礦副井,淨直徑8m,馬頭門位於井筒-430m水平兩側,馬頭門範圍內有推車機、調車機、下料絞車、信號等小型硐室以及等候室、變電所等通道(圖9-31)。馬頭門進車及出車線長度分別為31m和16m,進車側的掘進高度和寬度分別為11.65而和9.2m,出車側的掘進高度和寬度分別為11.4m和8.7m,馬頭門的最大掘進斷麵為105m2。
該馬頭門采用與井筒同時施工的方法,整個工程安排四個階段施工,見圖9-32。第一階段施工井筒兩側馬頭門各7.0m,並與井筒同時完成永久支護的鋼筋混凝土澆築;第二階段,待主井通過井底車場和副井馬頭門貫通後,再由主井一側巷道向馬頭門進車側最外端的15m施工;第三階段施工馬頭門進、出車側的其餘部分各9m;最後階段施工馬頭門範圍內的其他硐室和設備基礎。
施工時將馬頭門全斷麵劃分為I~V個分區,見圖9-33。施工時先掘進馬頭門的拱部,臨時支護采用錨噴網,爾後向下分層分區(中間留岩柱)依次掘至馬頭門的底板,掘出的矸石放入井筒中,由抓岩機裝入吊桶提出。再由下向上立模、綁紮鋼筋、連續澆築混凝土,並與井筒井壁一並向上砌築,以保證連接部分支護的整體質量。最後清除掉中間岩柱。
該馬頭門掘進總工程量2684m3,混凝土澆築工程量連同井壁共1026m3,耗用鋼筋43.5t。在礦井竣工驗收移交時,該工程被評為優質工程。
馬頭門與井筒同時施工具有如下特點:可以充分利用鑿井設備和設施進行打眼放炮、通風排煙、裝岩提升、壓氣供應、排水、拌料下料等工作,使準備、輔助工作大大簡化;同時,支護的整體性好,工程質量易於保證。該方法不足之處是馬頭門施工占用井筒的施工期(1~2個月),致使井筒到底時間向後推遲了一段時間。
(2)馬頭門與井筒順序施工
馬頭門與井筒順序施工是:先掘砌完整個井筒,再返上來施工馬頭門。即當井筒掘砌到馬頭門位置處時,預留馬頭門的硐口不砌(硐口預留得稍大一點,以免將來馬頭門掘進放炮時崩壞井壁),暫時將硐口用噴射混凝土作為臨時支護封閉起來,待井筒掘砌到設計深度後,再返上來施工馬頭門。為了施工方便,可以在馬頭門底板下方位置搭設一個臨時固定盤作為掘砌的工作台;也可以直接利用鑿井吊盤作為活動的掘砌工作台。
這種施工方法最突出的優點是馬頭門施工不占用井筒施工工期,使井筒可提前到底。後期的馬頭門施工,也可能和其他工程平行。由於井壁和馬頭門壁不是一次連續整體澆築,因而馬頭門施工時應特別注意工程質量。當采用臨時固定盤施工時,盤的安、拆費工費料,後期清除井底的存矸也需花費時間。
2.箕鬥裝載硐室施工
箕鬥裝載硐室斷麵大,結構複雜,施工中有大量的預留孔和預埋件,工程質量要求高,施工技術難度大。根據箕鬥裝載硐室與井筒施工的先後關係,我國煤礦現有的施工方法可概括為2類:即與井筒同時施工和與井筒順序施工。
(1)箕鬥裝載硐室與井筒同時施工
當井筒掘至硐室上方5m左右處停止掘進,將上段井壁砌好,再繼續下掘井筒至硐室位置。若圍岩比較穩定,則井筒工作麵與硐室工作麵錯開一薦炮的高度(1.5~2.0m),同時自上而下施工。硐室分層下行的施工順序如圖9-34(a);若圍岩穩定性差,硐室各分層可與井筒交替施工,圖9-33(b)。硐室爆破落下來的矸石扒放到井筒中裝提出井。井筒和硐室逐層下掘,待整個硐室全部掘完後,再進行二次支護,由下向上立模板、綁紮鋼筋,先牆後拱連同井壁整體澆築。在掘進時,隨掘隨采用錨噴或錨噴網進行一次支護,及時封閉硐室圍岩。箕鬥裝載硐室和該段井筒施工完成後,再繼續向下開鑿井筒。
這種施工方法具有充分利用鑿井設備進行硐室施工,效率高、進度快、安全性好和施工準備工作較少的優點;不足之處是硐室施工占用了井筒工期,拖延了井筒到底的時間。
淮北礦區臨渙煤礦,設計年產量180萬t,主井淨直徑6.5m,井內裝有3個12t箕鬥。箕鬥裝載硐室的南硐室為單箕鬥,北硐室為雙箕鬥,硐室斷麵為馬蹄形,兩硐室分別連接一條膠帶輸送機巷,見圖9-35。北硐室和南硐室最大掘進斷麵分別為150.7m2和103.98m2。箕鬥裝載硐室橫硐室的拱部掘進先由兩側的膠帶輸送機巷以導硐(2m×2m)與主井井筒貫通,然後從硐室後牆向井筒方向刷大至拱頂,見圖9-36。邊掘邊進行硐室外層的一次支護,采用噴-錨-網-架的聯合支護型式。該礦箕鬥裝載硐室掘進總工程量2124m3,砌築總工程量1104m3,實際施工期110天,取得了快速、安全、高質量的施工效果。


圖9-35 臨渙主井箕鬥裝載硐室平麵圖 圖9-36 臨渙主井箕鬥裝載硐室掘進順序圖
1-主井井筒;2-南硐室;3-北硐室; 1-井筒;2、3-南、北箕鬥裝載硐室;
4-膠帶輸送機巷;5-錨杆 4-膠帶輸送機巷,5-錨杆
(2)箕鬥裝載硐室在井筒掘砌全部結束後進行施工
施工順序是:先將井筒施工到底,然後再開始施工箕鬥裝載硐室。當井筒掘砌到硐室位置時,除硐口範圍預留外,其他井筒部分全部砌築。預留出的硐口部位根據圍岩情況暫時用噴混凝土或錨噴進行臨時支護封閉,待井筒掘砌到設計深度後,再返回上來利用鑿井吊盤作掘砌工作台進行箕鬥裝載硐室的施工。將硐室掘出的矸石,全部放入井底。硐室完工後,最後集中將井底的存矸清除出井。硐室施工采用自上向下分層方法。
兗州礦區東灘煤礦,設計年產量400萬t,主井淨直徑7m、井深786.5m,井內裝有兩對16t箕鬥。箕鬥裝載硐室位於井底車場水平以下,雙麵對稱布置,硐室全高19.96m、寬6.5m、深6.45m,分上、中、下3室,硐室掘進最大橫斷麵133m2,最大縱斷麵135.7m2。
第一階段施工井筒到底,自井底車場水平向下掘進,采用全斷麵深孔爆破,一次支護采用掛網噴射混凝土,二次支護由下向上澆築混凝土井壁,預留出箕鬥裝載硐室硐口;第二階段施工硐室,先掘後砌。硐室掘進自上向下分層進行,先掘出拱頂,用錨噴進行一次支護,然後逐層下掘,待整個硐室掘出後,再自下向上連續澆築硐室的鋼筋混凝土,並與井筒的井壁部分相接。砌築時,立模、布筋與混凝土澆築,雙麵硐室交替進行。硐室全高施工時自上向下分成12段。拱部及拱基線上0.4m為第Ⅰ段,段高4.05m;以下每1.5m為一段高,見圖9-37。待硐室全部掘出後,最後由下向上一次連續地完成下室、中室、上室的牆、拱以及中間隔板的鋼筋混凝土澆築工作。混凝土澆築由裏向外進行,井內利用吊桶下混凝土料。
該箕鬥裝載硐室掘進總體積1332.3m3,砌築總體積619.8m3,鋼筋及預埋件共耗用鋼筋53.1t,硐室施工工期為110天。
這種施工方案可以部分利用鑿井設備(如提絞設備、吊盤等);缺點是高空作業,安全性差;矸石全部落入井底,給後期清底工作增加困難,同樣要延長井筒的施工期。

圖9-37 東灘主井箕鬥裝載硐室下行分段開挖和臨時支護圖
第四節 交岔點設計與施工
一、交岔點類型
井下巷道相交或分岔地點的那段巷道叫交岔點。交岔點按其結構又可分為柱牆式交岔點和穿尖交岔點(圖9-38)。
柱牆式交岔點又稱“牛鼻子”镟岔,在各類圍岩的巷道中均可使用。在該交岔點長度內兩巷道的相交部分,共同形成一個漸變跨度的大斷麵,其最大斷麵的跨度和拱高是由相交巷道的寬度和柱牆的寬度決定的。這種交岔點較穿尖式交岔點工程量大,施工時間長,但具有受力條件好,容易維護等特點,所以得到普遍應用。
穿尖式交岔點一般在圍岩穩定堅硬,跨度小的巷道中使用。在交岔點的長度內,兩巷道為自然相交,其相交部分保持各自的巷道斷麵。拱高不是以兩條巷道的最大跨度來決定,而是以巷道自身的跨度來決定。因此,镟岔中間斷麵的高度不超過兩相交巷道中寬巷的高度。由於拱高低、長度短、斷麵尺寸不漸變,從而使工程量減小,施工時間縮短,通風阻力小,也使設計工作簡化。但它較柱牆式交岔點在相同條件下具有拱部承載能力小、僅適用於圍岩堅硬、穩定,跨度較小的巷道。

圖9-38 牛鼻子交岔點和穿尖交岔點
(a)牛鼻子交岔點;(b)穿尖交岔點;(c)斷麵圖
二、窄軌道岔
設計交岔點的重要依據之一,是道岔的類型與尺寸,故對井下使用的窄軌道岔作一介紹。
1.道岔的構造
礦井窄軌道岔是交岔點軌道運輸線路連接係統中的基本元件,它是使車輛由一條線路過渡到另一條線路的裝置。其構造如圖9-39所示,它主要由岔尖、基本軌、轍岔(岔心和翼軌)、護輪軌以及轉轍器等部件組成。

圖9-39 窄軌道岔構造圖
1-基本軌接頭;2-基本軌;3-牽引拉杆;4-轉轍機構;5-岔尖;6-曲線起點;7-轉轍中心;10-曲線終點;9-插入直線;
10-翼軌;11-岔心;12-轍岔岔心角;13-側軌軸線;14-直軌軸線;15-轍岔軸線;16-護輪軌;17-警衝標
岔尖是道岔的最重要零件,它的作用是引導車輛向主線或岔線運行。岔尖要求緊貼基本軌,高度應等於或小於基本軌高度,並具有足夠的強度。岔尖的擺動是依靠轉轍器來完成。
轍岔是道岔的另一個重要零件,其作用是保證車輪輪緣能順利通過。它是由岔心和翼軌焊接鋼板而成,也有用高錳鋼整體鑄造的。後者穩定性好、強度高、壽命比前者高6~10倍。
轍岔岔心角
(簡稱轍岔角)是道岔的最重要參數。用其半角餘切的1/2表示轍岔號碼M,即
。轍岔號碼M越大,
角越小,道岔曲線半徑R和曲線長度就愈大,車輛通過時就愈平穩。
護輪軌是防止車輛在轍岔上脫軌而設置的一段內軌。
2.道岔的類型
中華人民共和國煤炭行業標推(MT/T2-95)窄軌鐵路道岔有600、762和900mm等3種軌距,15、22、30、38和43kg/m等5種軌型;單開、對稱、渡線、交叉渡線、對稱組合、菱形交叉和四軌套線7種類型(圖9-40為單開、對稱、渡線三種道岔的結構與計算簡圖);單開和渡線道岔有右向和左向之分(在平麵圖上分出線路沿順時針方向分出時為右向;沿逆時針方向分出時為左向)。各種道岔按不同類型分別有2號、3號、4號、5號、6號、7號、8號和10號等8種轍岔號碼,又按不同的轍岔號碼配備了4、6、9、12、15、20、25、30、40、50、70m等11種曲線半徑;渡線、交叉渡線和對稱組合道岔的線路間距,按不同軌距和道岔類型,配有1300、1400、1500、1600、1700、1800、1900、2200和2500mm等9種。
3.道岔的係列
窄軌道岔的每一種類型又按軌距和軌型不同共有615、715、915、622、722、922、630、730、930、938、643等11個係列,221個品種,現己設計了166個品種。
4.道岔的選擇原則
道岔本身製造質量的優劣或道岔型號選擇是否合適,對車輛運行速度、運行安全和集中控製程度等均有很大關係。一般應按以下原則選用:
(1)與基本軌的軌距相適應。如基本軌線路的軌距是600mm,就應選用600mm軌距的道岔;
(2)與基本軌型相適應。選用與基本軌同級或高一級的道岔型號,但絕不允許采用低一級的道岔;
(3)與行駛車輛的類別相適應。多數標準道岔都允許機車通過,少數標準道岔由於道岔的曲線半徑過小(≤9m)、轍岔角過大(≥18º55´30")時,隻允許礦車行駛;
(4)與行車速度相適應。多數標準道岔允許車輛通過的速度在1.5~3.5m/s,而少數標準道岔隻允許車輛通過的速度在1.5m/s以下。

圖9-40 道岔結構與計算簡圖
(a)單開道岔;(b)對稱道岔;(c)渡線道岔
a―轉轍中心至道岔起點的距離;b―轉轍中心至道岔終點的距離;L―道岔長度
三、交岔點設計
交岔點設計包括交岔點的平麵尺寸設計、中間斷麵尺寸設計、斷麵形狀選擇、支護設計、工程量與材料消耗量計算等幾部分。
(一)平麵尺寸的確定
確定交岔點平麵尺寸,就是要定出交岔點擴大斷麵的起點和柱牆的位置,即交岔點斜牆的起點至柱牆的長度,定出交岔點最大斷麵處的寬度,並計算出交岔點單項工程的長度。這些尺寸取決於通過交岔點的運輸設備類型、運輸線路布置的型式、道岔型號以及行人和安全間隙的要求。在設計前,應先確定各條巷道的斷麵及主巷與支巷的關係,並以下述條件作為設計交岔點平麵尺寸的已知條件:所選道岔的a、b、
值;支巷對主巷的轉角
;各條巷道的淨寬度B1、B2、B3及其軌道中心線至柱牆一側邊牆的距離b1、b2、b3。此外,尚需確定柱牆的寬度(一般取500mm)和軌道的曲率半徑R。
下麵以單軌巷道單側分岔點為例介紹交岔點平麵尺寸的確定方法。
首先,應根據前述已知條件求曲線半徑的曲率中心O點的位置,以便以O點為圓心、R為半徑定出彎道的位置,見圖9-41。O點的位置距離基本軌起點的橫軸長度J、距基本軌中心線的縱軸長度H,可按如下求得:
(9-10)
(9-11)
從曲率中心O到支巷起點T連一直線,此OT線與O點到主巷中心線的垂線夾角為θ,其值為:
(9-12)
`
(9-13)
為了計算交岔點最大斷麵寬度TM,需解直角三角形MTN:
(9-14)
(9-15)
(9-16)
於是,自基本軌起點至柱牆麵的距離:
(9-17)
為了計算交岔點的斷麵變化,需確定斜牆TQ的斜率i,其方法是先按預定的斜牆起點(變斷麵起點)求算斜率i0,然後選用與它最相近的固定斜率i,即:
(9-18)
根據i0值的大小,選取固定斜率i為0.2、0.25或0.3,個別情況可取0.15。
確定了斜牆的斜率後,便可定出斜牆(變斷麵)的起點Q及交岔點擴大斷麵部分的長度:
(9-19)
於是,變斷麵的起點至基本軌起點的距離:
Y=P-L0(9-20)
Q點在Q0點之右,Y為正值;Q點在Q0點之左,Y為負值。
交岔點工程的計算長度L,是從基本軌起點算起,至柱牆M點再延長2000mm,於是:
L=L2+ 2000 (9-21)
在支巷處,交岔點的終點應取為從柱牆麵算起,沿軌道中心線2000mm處,也可近似地按直牆2000mm計算。
(二)交岔點的中間斷麵尺寸計算
1.中間斷麵的寬度
交岔點各中間斷麵的寬度,取決於通過它的運輸設備的尺寸、道岔型號、線路聯接係統的類型、行人及錯車安全要求。
2.考慮到運輸設備通過彎道和道岔時邊角將會外伸,與直線段巷道相比,交岔點道岔處的中間斷麵應加寬,加寬要點如下:
(1)單軌巷道單側分岔點,在彎道內側加寬100mm。其外側外伸值不大,可不再加寬,但若安全間隙很小則應加寬200mm。加寬範圍為道岔轉轍中心左邊5m、右邊1m。
(2)雙軌巷道單側分岔點,在道岔轉轍中心前5m一段,雙軌中心線距應加寬200mm或200mm以上,並在左右各設置5m的過渡線段,在此範圍內,巷道外側也要相應加寬。
(3)單軌巷道對稱分岔點,兩側均應加寬。
(4)雙軌巷道對稱分岔點,從彎道曲率中心向左3m段,兩軌中心線應分別向外移動200mm或更多,即雙軌中心線加寬400mm或更多,並在其左也設置5m過渡線段,巷道也需適當加寬。
3.為了施工方便和減少通風阻力,在井底車場的交岔點內,一般應不改變雙軌中心線距及巷道斷麵。這樣在設計交岔點時,中間斷麵應選用標準設計圖冊中相應的曲線段的斷麵(即參考運輸設備通過彎道或道岔時邊角外伸、雙軌中線距及巷道寬度已加寬的斷麵)。
4.中間斷麵的拱高
交岔點內的巷道拱高,由於寬度逐漸加大,因而拱高也逐漸加大。半圓拱拱高仍取寬度的1/2,圓弧拱取1/3。錨噴支護的交岔點也可降低拱高,以減少掘、支工程量。
5.中間斷麵的牆高
由於各中間斷麵的拱高將隨淨寬的遞增而升高,為了提高斷麵利用率,減少掘、支工程量,在滿足安全、生產與技術需求的條件下,可將中間斷麵的牆高相應遞減,使巷道全高的增加幅度不致過大(圖9-42)。
降低後的牆高或調整後的拱高,在T、N、M三點處應相同。這幾處的巷道斷麵應保證運輸設備、行人及管線裝設的安全間隙和距離,故必須按“巷道斷麵設計”中所介紹的方法和公式對牆高進行驗算。設變斷麵部分起點處牆高為hB1,降低後最低處牆高為hTN,則牆高降低的斜率為
:
(9-22)
有了
值,便可求得每米牆高遞減值。T、N、M三點處牆高均是hTM。hTM與以B2、B3為淨寬的巷道的牆高hB2、hB3的差值
應控製在200~500mm。如果
值過大,對施工和安全都不利;
過小則降低牆高的意義不大。在生產中,為了施工方便,亦可不降低牆高。
(三)交岔點的支護
交岔點屬於加強支護工程,因此其砌镟厚度和錨噴參數值應按大斷麵最大寬度TM選取上限值。分支巷道加強支護的長度,應為自柱牆麵起3~5m。
柱牆寬度一般為500mm,長度視岩石條件、支護方式及巷道轉角而定,通常取2m。對采用光麵爆破完整保留原岩體的柱牆,可按支護厚度考慮,不另加長度。
(四)交岔點工程量及材料消耗量計算
交岔點工程量計算的範圍,一般是從基本軌起點至柱牆向支巷各延展2m。工程量計算方法有兩種:一種是將交岔點按不同斷麵分為幾個計算段,求出每段掘進體積,然後相加(包括柱牆);另一種是近似計算,其精度能滿足工程需要,在施工中廣泛應用。
(五)交岔點的作圖及附表
交岔點施工圖包括平麵圖,主巷、支巷及TM處斷麵圖,交岔點縱剖麵圖,工程量和材料消耗量表,以及變化斷麵各段特征表等。
(1)按1︰100的比例繪出交岔點平麵圖。
(2)按1︰50的比例繪出主巷、支巷及最大寬度TM處的斷麵圖。在TM斷麵圖上,大斷麵是實際尺寸,兩個小斷麵和柱牆的寬度則是投影尺寸,如圖9-43所示。
(3)交岔點縱剖麵圖能顯示拱高、牆高及大小斷麵的連接,並能看出交岔點內牆高的變化情況。
(4)作出交岔點斷麵變化特征表、工程量及主要材料消耗量表。
交岔點斷麵特征表和工程量及材料消耗量表的格式與巷道施工圖基本相同。
四、交岔點施工方法
交岔點施工,應推廣使用光麵爆破、錨噴支護;在條件允許時,要盡量做到全斷麵掘進一次成巷,使用砌镟支護時,應盡量縮短掘砌的間隔時間,以防止圍岩鬆動。在井底車場施工中,根據總的施工組織安排有時可先掘進其中的一條巷道,當掘過交岔點適當距離後,在該巷道繼續向前掘進的同時,進行交岔點的刷大與支護。但是,此時交岔點的刷大、支護工作應不影響礦車順利通過,以保證連鎖工程的連續快速施工。
由於柱牆處是交岔點受力最大的地方,所以柱牆和岔口的施工是這個交岔點工程的關鍵,必須盡力保護該處圍岩的完整和穩定。施工中應根據交岔點穿過岩層的地質條件、斷麵大小及支護型式、開始掘進的方向和施工期間工作麵的運輸條件,選用不同的施工方法。
1.若圍岩穩定,可采用一次成巷的施工方法,隨掘隨支,或掘後一次支護,其施工順序如圖9-44所示。按圖中Ⅰ、Ⅱ、Ⅲ的順序全斷麵掘進,錨杆按設計要求一次錨完,並噴以適當厚度的混凝土及時封閉頂板;若岩石易風化,可先噴混凝土後打錨杆,最後安設牛鼻子和兩幫處的錨杆,並複噴混凝土至設計厚度。
2.若圍岩中等穩定,交岔點變斷麵部分起始段仍可采用一次成巷施工,而在斷麵較大處,為了使頂板一次暴露麵積不致過大,可用小斷麵向兩支巷掘進,並將邊牆先行錨噴,餘下周邊噴上一層厚30~50mm的混凝土作臨時支護,然後回過頭來再分段刷幫、挑頂和支護。
3.在穩定性較差的岩層中,可采用先掘砌好柱牆再刷砌擴大斷麵部分的方法。圖9-45(a)為正向掘進時,先將主巷掘通過去,同時將交岔點一側邊牆砌好,接著以小斷麵橫向掘出岔口,並向支巷掘進2m,將柱牆及巷口2m處的拱、牆砌好,然後再回過頭來刷砌擴大斷麵處,做好收尾工作。圖9-45(b)為反向掘進時的施工順序,先由支巷掘至岔口,接著以小斷麵橫向與主巷貫通,並將主巷掘過岔口2m,同時將往墩及兩巷口的2m拱、牆砌好,隨後向主巷方向掘進,過斜牆起點2m後,將邊牆及此2m巷道拱、牆砌好,然後反過來向柱牆方向刷砌,做好收尾工作。
4.在穩定性差的鬆軟岩層中掘進交岔點時,不允許圍岩一次暴露的麵積過大,可采用導硐施工法,如圖9-46所示。此法與上述方法基本相同,先以小斷麵導硐將交岔點各巷口、柱牆、邊牆掘砌好後,從主巷向岔口方向挑頂砌拱。為了加快施工速度,縮短圍岩暴露時間,中間岩柱暫時留下,待交岔點刷砌好後,最後用放小炮的方法把它除掉。
在交岔點實際施工中,應根據圍岩的穩定程度、斷麵大小、掘進方向以及施工設備和技術條件等具體情況,交岔點的施工方法可以多種多樣。但原則應是:既要保證施工安全,又要使施工快速、方便。
第四節 煤倉施工
煤倉的施工,一般采用先自下向上開掘鑿小反井,而後再自上向下刷大設計斷麵,最後自下向上砌築倉壁的方法。就反井施工方法而言,有普通反向鑿井法、吊罐反向鑿井法、深孔爆破法和反井鑽機法等幾種。過去多采用普通反向鑿井法,後來逐漸被吊罐反向鑿井法取代,雖然吊罐反向鑿井法比普通反向鑿井法具有勞動強度低、節省坑木、掘進速度快、效率高、成本低等優點,但作業環境和安全狀況仍很差,同時該方法要求反井圍岩較穩定及具有垂直精度較高的先導提升鋼絲繩孔,所以使用範圍受到限製。隨著爆破器材和爆破技術的發展,有的單位還采用了深孔掏槽爆破法,采用自下而上連續分段爆破成井,下部巷道集中出矸,裝藥、聯線、填塞、爆破等作業均在煤倉上部巷道進行,與傳統施工法相比,具有作業條件好、工效高、速度快、安全、節約材料等一係列優點,但這種方法對鑽眼及爆破技術有較高要求,實際應用並不多。
國外六十年代就開始使用反井鑽機進行反井施工,其工藝不斷得到完善和發展,目前在工業發達國家中使用反井鑽機鑽鑿反井的比重已超過70%以上,有的達到90%。70年代開始,我國自製反井鑽機,目前已有多台不同規格型式的反井鑽機在煤礦中使用。反井鑽機是一種機械化程度高、安全高效的反井施工設備,尤其是用它鑽鑿煤礦的反井、井下煤倉、溜煤眼、延伸井筒及各種暗立井時可大大提高建設速度,其施工速度為普通反向鑿井法的5~10倍,施工成本僅為普通反向鑿井法的67%,它還具有減輕工人勞動強度、作業安全、成井質量好等優點。下麵介紹以反井鑽機施工煤倉的主要工藝。
一、施工方式
利用反井鑽機鑽鑿反井的方式有二種:一種是把鑽機安裝在反井上部水平,由上而下先鑽進一個導向孔(直徑216~311mm)至反井下部水平,再由下而上擴大至反井的全斷麵,即一般所謂的上行擴孔法;另一種方式是把鑽機安裝在待掘反井的下部水平,先由下向上鑽一導向孔,然後自上而下擴大到斷麵,即下行擴孔法。下行擴孔法的岩屑沿鑽杆周圍下落,因此要求鑽鑿直徑較大的導向孔,否則岩屑下落時在擴孔器邊刀處重複研磨,不僅加劇了刀具的磨損,也影響了擴孔的速度;向上鑽導向孔的開孔比較困難,人員又在鑽孔下方,工作條件較差。正是由於這些原因,國內外多采用上行擴孔法。如果由於岩石條件和巷道布置所限,不允許在反井上部開鑿硐室和無法運輸鑽機,或由於岩石不穩定,要求緊跟擴孔作業進行支護等情況下可以考慮采用下行擴孔法。
我國煤礦應用的反井鑽機主要有國產的TYZ-1000、AF-2000、LM-120、ATY-1500、ATY-2500等型號,此外還有引進美國的83RM-HE型反井鑽機,其主要技術特征如表9-1所示。其中常用的有TYZ型、LM型和ATY型係列的反井鑽機,它主要由主機、鑽具(鑽杆與鑽頭)、動力車、油箱車、起吊裝置等部分組成,鑽頭分超前孔鑽頭和擴孔鑽頭,主機帶有軌道平板車,工作時作裝卸鑽杆用,鑽完後,主機倒放在平板車上運送出去。
二、反井鑽進
現以LM-120反井鑽機為例來說明某礦采用反井鑽機施工煤倉的方法。
1.準備工作
(1)施工之前應在反井的上口位置,按照設計尺寸要求用混凝土澆築反井鑽機基礎。該基礎必須水平,而且要有足夠的強度。井口底板若是煤層或鬆軟破碎岩層,應適當加大基礎的麵積和厚度,若底板是穩定硬岩,可適當減少基礎的麵積和厚度。
(2)鑽進時冷卻器的冷卻水要求流量為7.2m3/h,壓力為0.8MPa;導孔鑽進時,用於冷卻鑽頭和排除岩屑的衝洗水要求流量為30m3/h,壓力為0.7~1.5MPa。
(3)LM-120型反井鑽機因電器線路極為簡單,未專門配置電氣控製箱。隻需用兩台隔爆型磁力起動器和兩台隔爆起動按扭,在施工現場將電源分別接入電機即可。
(4)鑽機安裝
鑽機運到現場以後,按照圖9-47所示的位置排列,然後找正鑽機車的位置,擰緊卡軌器後,便可按照如下步驟進行工作:往油箱內注油,連接動力電源及液壓管路,啟動副泵,升起翻轉架將鑽機豎立,使其動力水龍頭接頭體軸心線對正預鑽鑽孔中心,安裝斜拉杆,卸下翻轉架與鑽機架的連接銷,放平翻轉架,安裝轉盤吊與機械手,調平鑽機架,固定鑽機架(支起上下支承缸),接洗井液膠管和冷卻水管,準備試車。
表9-1 國產反井鑽機技術特征


2.反井施工
(1)導孔鑽進
鑽機安裝完畢並經過調試以後,即可進行開孔鑽進。開孔鑽進是將液壓馬達調成串聯狀態。把事先與穩定鑽杆接好的導孔鑽頭放入井中心就位,啟動馬達,慢慢下放動力水龍頭,連接導孔鑽頭,啟動水泵向水龍頭供水。開始以低鑽壓向下鑽進,開孔鑽速控製在1.0~1.5m/h之間。開孔深度達3m以後,增加推力油缸區推力,進行正常鑽進。根據岩石的具體情況控製鑽壓,一般對鬆軟岩層和過渡地層宜采用低鑽壓,對堅硬岩石宜采用高鑽壓。在鑽透前,應逐漸降低鑽壓。
在導孔鑽進中,采用正循環排渣,將壓力小於1.2MPa的洗井液通過中心管和鑽杆內孔送至鑽頭底部,水和岩屑再由鑽杆外麵與鑽孔壁之間的環形空間返回。裝卸鑽杆可借助於機械手、轉盤吊和翻轉架。

圖9-47 LM-120反井鑽機
1-轉盤吊;2-鑽機平車;3-鑽杆;4-斜拉杆;5-長銷軸;6-鑽機架;7-推進油缸;8-上支承;9-液壓馬達;
10-下支承;11-泵車;12-油箱車;13-擴孔鑽頭;14-導孔鑽頭;15-穩定鑽杆;16-鑽杆;17-混凝土基礎;
18-卡軌器,19-斜撐油缸;20-翻轉架;21-機械手;22-動力水龍頭;23-滑軌;24-接頭體
(2)擴孔鑽進
導孔鑽透後,在下部巷道將導孔鑽頭和與之相接的穩定鑽杆一同卸下,再接上直徑1.2m的擴孔鑽頭。將液壓馬達變為並聯狀態,調整主泵油量,使水龍頭出軸轉速為預定值(一般為17~22r/min)。擴孔時將冷卻器的冷卻水放入井口,水沿導孔井壁及鑽杆外壁自然下流,即可達到冷卻刀具及消塵防爆的作用。擴孔開孔時應采用低鑽壓,待刀盤和導向輥全部進入孔內後,方可轉入正常鑽進。在擴孔鑽進時,岩石碎屑自由下落到下部水平巷道,停鑽時裝車運出。擴孔鑽進情況見圖9-48。
|
|
圖9-48 反井擴大示意圖 |
圖9-49 煤倉刷大施工設備布置示意圖 |
1-動力車;2-反井鑽機;3-導向孔; 4-擴孔鑽頭;5-已擴反井 |
1-封口盤;2-提升天輪;3-提升絞車;4-風筒;5-吊桶; 6-鐵篦子孔蓋;7-φ1.2m的反井;10-裝載機;9-鋼絲繩軟梯 |
擴孔距離上水平還有3m左右時,應當用低鑽壓(向上拉力)慢速鑽進。此時,施工人員應密切注視基礎的變化情況,當發現基礎有破壞的征兆時,應立即停止鑽進,待鑽機全部拆除後,可用爆破法或風鎬鑿開。進行此項工作時,施工人員應配帶安全繩或保險帶。
三、反井刷大
用鑽機鑽擴完直徑1.2m的反井全深後,即可按設計煤倉規格進行刷大。刷大前應做好掘砌施工設備的布置與安裝等準備工作,煤倉刷大施工設備布置見圖9-49。
利用煤倉上部的卸載硐室作鎖口,在其上麵安裝封口盤,盤麵上設有提升、風筒、風管、水管、下料管、噴漿管及人行梯等孔口。在硐室頂部安裝工字鋼梁架設提升天輪,提升利用JD-25型絞車、1m3吊桶上下機具和下放材料。人員則沿鋼絲繩軟梯上下。采用壓入式通風,在卸載硐室安設1台5.5kW局部通風機,用φ500mm膠質風筒經封口盤下到工作麵上方。
煤倉反井自上向下進行刷大,工作麵可配備YT-24型風動鑿岩機,選用藥卷φ35mm的1號煤礦硝銨炸藥和毫秒電雷管,用MFB-150型發爆器起爆。由於鑽出的反井為刷大爆破提供了理想的附加自由麵,因而工作麵上無需再打掏槽眼。全斷麵炮眼爆破分兩次進行,使爆破麵形成台階漏鬥形,以便矸石向反井溜放。當刷大到距反井下口2m時,采用加深炮眼的方法一次打透,然後站在矸石堆上打眼,再將下麵的給煤機硐室水平巷道段刷出。
刷大掘進放炮後,矸石大部分沿反井溜放到煤倉下部水平巷道,剩餘矸石用人工攉入反井。下部水平巷道設1台0.6m3的耙鬥裝岩機,將落入巷道的矸石裝入1.5t礦車外運。煤倉反井刷大過程中,采用錨噴網作臨時支護。
四、永久倉壁的砌築
該煤倉倉壁采用厚700mm的圓筒形鋼筋混凝土結構。煤倉下口為倒錐形的給煤漏鬥,上口直徑8m,下口4.22m,內表麵鋪砌厚100mm的鋼屑混凝土耐磨層。漏鬥由兩根高2m的鋼筋混凝土梁支托。煤倉砌築總的施工順序是先澆灌給煤機漏鬥,再自下向上砌築倉壁。混凝土及模板全由煤倉上口的絞車調運。
煤倉砌築時的支模方法,通常采用繩捆模板或固定模板,支模工作在木腳手架上進行,施工中由於腳手架不能拆除,模板無法周轉使用,木材耗量大,而且組裝拆卸困難,影響砌築速度。因此,該礦在砌築煤倉時,改變了上述的支模方法,采用滑模技術,創造了一套應用滑模砌築煤倉倉壁的施工方法。考慮到煤倉垂深不大的特點,直接引用立井的液壓滑模在經濟上不夠合理,因而專門研製了一種砌築倉壁的手動可伸縮模板,沿周圍用24個GS-3型手動起重器作模板提升牽引裝置,模板沿直徑13.5mm的鋼絲繩滑升,使用靈活方便,煤倉砌壁滑模施工見圖9-50。這一施工支模方法省工、省料、機械化程度高、質量好、速度快。
本章思考題
1.井底車場由哪幾部分組成?有哪些線路?
2.有哪幾種常見的車場形式?它們適用於何種條件?
3.副井係統有哪些硐室?主井係統有哪些硐室?
4.箕鬥裝載硐室有哪幾種類型?硐室的主要尺寸與什麼因素有關?支護有何特殊要求?
5.馬頭門的規格應如何確定?
6.煤倉有哪幾種形式?各自的適用條件是什麼?它的支護結構有何特點?
7.中央排水係統由哪幾部分組成?它與車場、井筒有哪些聯係?用立麵圖簡示之?
8.有幾種硐室施工方法?適於何等條件?硐室施工的特點是什麼?
9.箕鬥裝載硐室有哪幾種施工方案?簡述各自的優缺點及適用條件?
10.馬頭門有哪幾種施工方案?簡述各自的優缺點及適用條件?
11.交岔點的結構有哪兩種?簡述各自的特點及適用條件?
12.交岔點的平麵設計歸納為哪幾個主要步驟。
13.交岔點有哪幾種施工方法?施工時應注意哪些問題?
14.如何施工煤倉?


