苗地煤礦副井延伸施工作業規程
目 錄
第一章 概 況 1
第一節 工作麵位置及井上下關係 1
第二節 岩(煤)層 2
第三節 岩層頂底板 3
第四節 地質構造 4
第五節 水文地質 4
第六節 影響回采的因素 5
第七節 儲量及服務年限 6
第二章 掘進方法 7
第一節 巷道布置 7
第二節 掘進工藝 9
第三節 設備配置 10
第三章 頂板管理12
第一節 支護設計12
第二節 工作麵頂板控製 15
第三節 運輸巷、回風巷及端頭頂板控製 17
第四節 礦壓觀測 18
第四章 生產係統 19
第一節 運 輸 19
第二節 “一通三防”與安全監控 20
第三節 排 水 25
第四節 供 電 25
第五節 通信照明 29
第五章 勞動組織和主要技術經濟指標 31
第一節 勞動組織 31
第二節 作業循環 31
第三節 主要技術經濟指標 31
第六章 煤質管理33
第一節 煤質指標 33
第二節 提高煤質的措施33
第七章安全技術措施34
第一節 一般規定 34
第二節 頂板管理38
第三節 防排水 42
第四節 爆破管理42
第五節 一通三防及安全監控 47
第六節 運輸管理 50
第七節 機電管理 52
第八節 其他 53
第八章 災害應急措施及避災路線 56
作業01manbetx
學習和考試記錄 59
作業01manbetx
複查記錄 60
第一章 概 況
第一節 工作麵位置及井上下關係
一、工作麵在水平、采區、標高、幾何尺寸
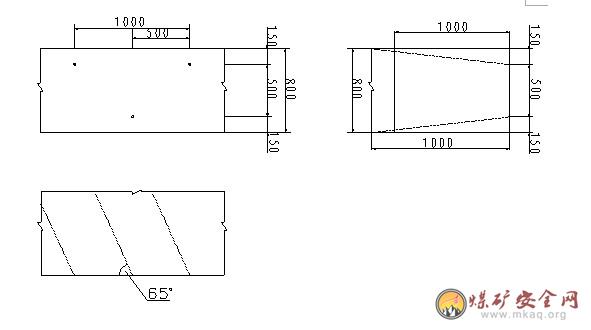
副井延伸工作麵在主井運輸道西異,工作麵標高+192米,千分之三上坡施工,總長度180米,體積1008立方米。
二、工作麵與地麵的相對位置
該工作麵在井田的西側,地表為荒地。地麵標高在+380米左右,地表為荒地。
三、掘進對地麵的影響
因掘進距地表160米以上,且地表為荒地,為此對地麵無大的影響。
四、對相鄰采區、采麵影響
對相鄰采區無影響。
五、工作麵位置及井上下關係,見表1
表1 工作麵位置及井上下關係表
第二節 岩煤層
一、岩(煤)層厚度
該巷道基本是岩石,無穿過煤層可能。
二、岩層產狀
該岩層為緩傾斜,傾角15度左右,變化不大。
三、附近煤層結構
12-2#煤在101采麵比較穩定,結構簡單,無夾石,層理,節理發育,質硬塊狀,回采時無大影響。
四、附近煤種、煤質
井田煤質牌號為無煙煤,黑色塊狀,粉末狀,富灰、低硫,光澤較暗,比重較輕,是主要為工業及民用無煙煤。
第三節 岩層頂底板
一、巷道岩層頂板
該岩層為砂岩,層理節理較發育,厚度變化不大。
二、巷道岩層底板
該巷道底板均為砂質頁岩和砂岩。層理、節理較發育,厚度變化不大。
三、岩層頂底板情況
巷道頂底板情況見表3
四、綜合柱狀,見下圖。

第四節 地質構造
一、斷層情況及對掘進的影響
該工作麵掘進無斷層影響。
二、褶曲情況及對回采的影響
該工作麵掘進無褶曲影響。
三、其他因素對回采的影響
該工作麵掘進無陷落柱、火成岩等影響。
第五節 水文地質
一、含水層03manbetx
該工作麵無含水層。
二、其它水源03manbetx
礦區周邊地區煤層頂板一般含水相微弱,透水性較差,巷道所穿岩層為砂岩時,砂岩具有一定的滲水性,周邊礦區位老礦區、老巷,空巷具有一定的滲水性,雨季時,地表水通過強風化帶裂隙及其它導水途徑順孔隙沿裂隙滲入井內,平時日出水量20~30t/日,雨季時水量倍增,水文地質條件複雜。在這種情況下,采礦權人應注意對老巷資料的搜集,注意老巷積水對安全生產的威脅。
三、工作麵的湧水量
預計工作麵最大湧水量1.0m3/h,正常湧水量0.5m3/h。
第六節 影響回采的因素
一、工作麵瓦斯湧出量
根據本礦實際情況,工作麵絕對瓦斯湧出量0.133m3/min,相對量為3.573m3/t。
二、煤塵爆炸指數,自然發火期
根據煤炭科學研究總院撫順分院鑒定報告,該礦煤塵爆炸指數為爆炸,自然發火期為三類不自燃。
三、地溫情況
該工作麵距地表較淺,無地溫危害。
四、衝擊地壓
該工作麵無衝擊地壓及應力集中區。
五、影響掘進的其他地質情況
影響掘進的其他地質情況,見表4
表4 影響掘進的其他地質情況

六、地質部門的建議
由於該塊段岩層較穩定,應盡可能提高工作麵效率。
第七節 儲量及服務年限
一、附近煤層儲量
101工作麵工業儲量:2.11萬噸
101工作麵可采儲量:2.05萬噸
二、工作麵服務年限
工作麵服務年限=(可采儲量/設計月產量)
=2.05/0.42=4.9月
第二章 掘進方法
我礦采用7655型風動鑽機鑽眼,全斷麵一次性光麵爆破。
第一節 巷道布置
一、巷道布置概況
該巷道主要布置在+192水平,主要與回風上山及總回風相通,形成我礦通風係統。本巷道總長180米。
二、巷道運輸
巷道坡度為3‰,淨斷麵5.6㎡,錨杆支護,鋪設輕軌,采用1t側卸式礦車,人力推車,負責運煤和運料、入風及行人等。
三、工作麵回風道
運輸道坡度為3‰,淨斷麵4.8㎡,錨杆支護,負責運料、行人及回風等。
四、工作麵開切眼
工作麵開切眼坡度為15°。
五、聯絡道
101麵內無聯絡道。
六、溜煤眼
101工作麵運輸道使用礦車運輸,由工作麵運輸機裝車,無溜煤眼。
七、硐室及其他巷道
在運輸道入口處設配電峒室一個,峒室內裝設各種配電開關和乳化液泵,長度6米,斷麵6.0㎡,峒室內使用鋼性支護。
工作麵及巷道布置平麵圖,見下圖。

第二節 采煤工藝
一、采煤工藝
該工作麵采用爆破落煤,其工藝過程為:工作前準備→打眼→裝藥→放炮→裝煤→移溜→支護→放頂。
爆破落煤采高1.25米,循環進度1.0米,每班0.5個循環,即2天3個循環。
使用1台煤電鑽打眼,炮眼角度為:炮眼與煤壁夾角為>65度,頂眼仰角為5-10度,底眼在垂直麵上向底板方向保持10-20度的俯角,為了避免崩翻運輸機,底眼眼底高出底板約0.3米,底眼眼底的爆破最小抵抗線位於運輸機上部水平以上,為了不崩倒支柱,使水平方向最小抵抗線進向兩柱的空檔。
炮眼布置方式:炮眼采用三花眼沿傾斜方向布置,這樣爆破裝煤效果及拋到采空區的煤較少,打眼勞動強度低,炮眼深度1.2米,爆破深度1.0米,裝藥量為0.3kg,煤軟時,可減少。每個炮眼封泥長度不小於0.5米,打眼、裝藥嚴禁平行作業。
爆破方法:采用串聯法連線,一次裝藥一次起爆,為了保證輸送機不被落煤壓死,每班炮眼分2次爆破,放炮段長度為10米,詳見爆破圖表。

二、工作麵正規循環生產能力
W=L×S×h×r×C
=50×1.0×1.25×1.3×0.95
=77t
式中:L——工作麵長度,取50米;
S——循環進度,取1.0米;
h——采高,取1.25米;
r——煤的密度,取1.3t/m3;
C——工作麵采出率,取95%。
第三節 設備配置
一、工作麵使用設備
工作麵使用設備,見表5

第三章 頂板管理
第一節 支護設計
一、工作麵的支護設計
1、參考本礦同煤層礦壓觀測資料,選擇本工作麵礦壓參數,工作麵合理的支護強度208kN/㎡,工作麵礦壓參考,見表7。
2、采用經驗公式
Pt=9.81h×r×K
=9.81×1.25×2.4×6
=177kN/㎡
式中:h——采高,1.25米;
r——頂板岩石重力密度,2.4t/m3
K——工作麵支柱應支護的上覆岩石厚度與采高比;取6,
3、單體液壓支柱實際支撐力
Rt=Kg×Kz×Kb×Kh×Kα×R
=0.99×0.95×0.90×1.00×1.0×300
=254kN
式中:Kg——支柱工作係數,取0.99;
Kz——支柱增阻係數,取0.95;
Kb——支柱不均勻係數,取0.90;
Kh——采高係數,取1.00;
Kα——傾角係數,取1.00;
R——支柱額定工作阻力,300kN。
支柱阻力影響係數,見表6
表6 支柱阻力影響係數表


二、選擇支護材料
選用DZ18-30/80型單體液壓支柱,最大支撐高度1.8米,最小支撐高度1.1米,伸縮行程0.7米,額定工作阻力300kN,初撐力75-100kN,泵站壓力15-20MPa,油缸直徑80mm,底座麵積113C㎡,直徑120mm。
選用π鋼頂梁,長度2.4米。
三、乳化液泵站
1、泵站選型、數量
選用QRB-80/20型兩台乳化液泵,一台使用,一台備用,其額定壓力20Mpa。公稱流量80L/min,電機功率37KW,管路選用直徑為19mm的鐵管。
2、泵站設置位置:設置在工作麵運輸道。
3、泵站使用規定
(1)泵站必須安放平穩,固定牢固,停放在頂板完整,無片幫、無淋水處。
(2)堅持使用乳化液濃度配比儀,乳化液濃度必須保證2%-3%,曲軸箱內潤滑油合格,油位在油線之間,油槽內潤滑合格,油繩放置合理,並有合格的過濾網。
(3)泵站壓力表動作靈活,壓力達到額定值,必須保證不低於18Mpa。
(4)泵件、泵箱、液壓管路無漏、串液現象。
(5)曲軸箱內溫度不得高於50度,不低於5度。
第二節 工作麵頂板控製
一、正常工作時期頂板支護方式
工作麵選用DZ18-30/80型單體液壓支柱和π鋼頂梁,長度2.4米,排、柱距為1.0米,最小控頂距2.6米,最大控頂距3.6米,最小控頂時,對梁使用,各打一梁雙柱支護,最大控頂時,兩梁交錯,邁步式前進,仍為一梁雙柱,回柱放頂後,回到最小控頂時支護。
二、正常工作時期上、下端頭支護方式及切頂支護
上、下端頭采用“四組八架”支護,即使用4米長方鋼八根,做為頂梁,分為四組,在工作麵上、下出口處各設兩組靠近上邦一組,下邦一組,每組並排兩根頂梁,每梁下打“一梁三柱”,隨工作麵的回采,向前邁步交替移動。
正常回采期間,采空區采用單體密集切頂,並加掛大笆擋矸,切頂密度打在放頂線一側,每梁間一個並穿鐵鞋,與正規支柱一樣,打成直線,迎山有勁,初撐力不小於70kN。
三、回柱放頂與其他工序平行作業安全距離
采用人工的方法進行回柱,回柱順序由下向上,從采空區向煤壁逐架回收,嚴禁提前摘梁盜柱或進入采空區作業,不許分茬回柱。回收每組時,先回上梁,前移,打牢“一梁雙柱”後,再回下梁。回柱放頂和支護至少三人,一人回頂放頂,一人觀察頂板及支護情況,另一人幫助運梁、扶梁。人員都應在支架牢固的斜上方安全地點作業,回柱與打眼平行作業最小安全距離不得小於15米,回柱與移溜平行作業最小安全距離不得小於20米,回柱與裝藥放炮嚴禁平行作業,回柱後局部懸頂超過沿走向5米,傾向15米(麵積大於75㎡)不冒落時,必須進行強製放頂,措施另報。
四、特殊時期的頂板控製
1、來壓及停采前的頂板控製
在采煤過程中,必須檢查並注意頂板及周圍情況,若發現明顯來壓現象必須停止采煤工作,加強工作麵支架的維護,適當加密工作麵支架,在煤幫每隔1.0米,打好帶帽靠幫頂子,在采空區沿切頂線,每隔1.0米打好穿鞋帶帽的戧頂子。待老塘垮落後,頂板壓力正常時,再恢複采煤工作麵,停采前,工作麵必須是最小控頂距,並打好靠邦頂子。
2、過斷層及頂板破碎時的頂板控製
回采工作麵過斷層和頂板破碎帶時,在工作麵靠煤邦沿傾向使用Ф16cm以上鬆木,做頂梁,打好一梁三柱,正規支護時,將臨時梁留在頂梁上部,間距0.5米,沿傾向交錯使用,回收後,不得重複使用。
第三節 運輸巷、回風巷及端頭頂板控製
一、運輸巷、回風巷的頂板控製
超前工作麵煤壁20米範圍內的運輸道和回風道,架設超前支護,超前支護使用Ф16cm以上鬆木做頂梁,臨近工作麵10米,使用單體液壓支柱,打“一梁三柱”,後10米打“一梁兩柱”,1.0米一架。
二、工作麵安全出口的管理
從工作麵煤壁至放頂線之間的端頭支護,即安全出口。端頭支護使用“四組八架”交替邁步“一梁四柱”放頂線後方的維護長度不得超過1.2米,在放頂線上,打好帶帽戧柱。
移設端頭支護時,15米內不許有其它作業。
三、支護材料的使用數量和存放管理
1、工作麵單體、數量計算
50×4+5+50×1+40+60=355棵
其中:放炮段長度15米,臨時頂柱間距3.0米,需用5棵,密柱每空1棵,超前支護前10米,每米2棵,40棵,後10米,每米3棵,60棵。
按規定備用10%的單體,共計355×1.1=390棵
2、π鋼梁計算
50×2=100根
備用10%的π鋼梁,共計100×1.1=110根
3、存放地點:存放在工作麵回風道,距工作麵30米處。
四、采煤工作麵支護布置,見采煤方法圖。
第四節 礦壓觀測
加強礦壓觀測,成立礦壓觀測小組,組長為技術負責人,成員為地測人員等。
觀測小組必須做到以下要求:
1、要求人員組織到位,培訓到位,觀測儀器落實到位。
2、礦壓觀測人員每班測出的數據,由地測人員負責收集、整理,要及時將工作麵情況向生產礦長、安全礦長、總工彙報,采取應急措施。
3、觀測人員要不定期對支柱抽查,發現支柱初撐力低,有權讓現場作業人員進行二次補液,否則不準作業。
4、觀測人員發現支柱工作阻力達到額定阻力或有相當一部分支柱安全閥開啟現象,提醒作業人員采取措施或撤離工作麵,並向井長和調度室彙報。
第四章 生產係統
第一節 運 輸
一、運輸設備及運輸方式
1、運輸設備及裝、轉載方式
工作麵使用SGB-22型刮板運輸機運輸,工作麵運輸道使用600mm軌距,MGC1.1-6/6型固定箱式側卸礦車,在工作麵運輸機下直接裝車。運輸道空重車均采用人工推車。
2、輔助運輸設備及運輸方式
材料運輸采用人力推車至工作麵。
二、運煤路線
煤炭由工作麵→工作麵運輸道→運輸繞道→主井→地麵煤橋或矸橋。
三、輔助運輸路線
材料由地麵→主井筒→運輸繞道→工作麵運輸道(風道)→工作麵。
四、運輸係統、詳見下圖。
第二節 “一通三防”與安全監控
在采區回風道,即工作麵運輸道與風道聯絡巷道內,設置正、反風門兩道,並加以聯絡,保質保量。
一、通風係統
(一)風量計算
1、按瓦斯湧出量計算
Q=100qk=100×0.133×2.0=26.6m3/min
式中:q——瓦斯絕對湧出量,0.133m3/min
K——不均勻係數,取2.0
2、按工作麵溫度計算
Q=60VSK=60×1.0×4.0×0.8=192 m3/min
式中:V——工作麵平均風速,取1.0 m/S
S——工作麵平均斷麵,取4.0㎡
K——工作麵長度係數,取0.8㎡
3、按工作麵每班工作最多人數計算
Q=4n=4×20=80 m3/min
式中:n——工作麵人數,取20人
4、按炸藥用量計算
Q=25A=25×10.5=263m3/min
式中:A——一次爆破最大炸藥量,10.5kg
5、按風速進行驗算
(1)按最低風速驗算,工作麵的最小風量
Q>15S大=15×5=75 m3/min
(2)按最高風速驗算,工作麵的最大風量
Q<240S小=240×3=720 m3/min
6、確定工作麵實需風量
取Q=270 m3/min
(二)通風路線
新鮮風流由主井→運輸車場→工作麵運輸道→工作麵→工作麵回風道→總回風巷→副井→地麵。
二、瓦斯防治
1、瓦斯檢查(設點、次數)
工作麵瓦斯檢查應符合下列要求:
(1)每班對工作麵瓦斯檢查的次數不少於兩次,且檢查時間應均勻。
(2)檢查瓦斯後應及時向礦調度室彙報測定結果。
(3)工作麵上出口應設放便攜式瓦檢儀,且讀數準確有效。
(4)工作麵需測定瓦斯及二氧化碳的地點為:
①工作麵進風流(指運輸巷至工作麵煤壁線以外的風流)。
②工作麵風流(指距煤壁、頂、底板各20cm以外的風流和以采空區切頂線為界的空間風流)。
③上隅角(指工作麵回風側最後一副支架處)。
④工作麵回風流(指距工作麵10米以外的回風巷內不與其他風流彙合的一段風流)。
(5)爆破地點附近20米以內風流中瓦斯濃度達到1.5%時,嚴禁爆破。
(6)停風工作麵恢複供風後,必須通過供風、瓦斯檢查員檢查,經證實無危險後,方可恢複工作。
(7)經03manbetx
確定不宜瓦斯檢查員檢查的地點,未經相關技術負責人同意,不得擅自進入檢查。
(8)停風工作麵恢複供風後,必須通過供風、瓦斯檢查人員檢查所有安裝電動機及其開關的地點附近20米的巷道內,隻有瓦斯濃度符合規定時,方可開啟。
(9)礦井臨時停風時,工作麵所有人員必須撤到主要進風流中,等通風且氣體濃度符合規定後,方可進入工作麵工作。
(10)當工作麵氣體濃度超限時,瓦斯檢查員必須告訴現場所有工作人員,停止工作並撤出人員,待采取措施、氣體濃度恢複正常後,方可繼續進入工作地點工作。
(11)參觀或檢查人員進入工作麵時,應攜帶便攜式瓦檢儀。
2、瓦斯檢測
(1)瓦檢員要按規定的地點、次數、檢查方式進行檢查,嚴禁空班漏檢和假檢。
(2)瓦檢時應測定作業地點的瓦斯、二氧化碳等氣體濃度、溫度,並及時準確填報瓦檢報表和各種記錄。
(3)工作麵爆破時,瓦斯檢查應在工作麵放炮地點20米範圍內的風流中進行。
(4)瓦斯檢查時,要嚴格按規定操作,發現不安全隱患,要先消除隱患再進行檢查。
(5)當工作麵局部風流中瓦斯濃度達到2.0%時,附近20米內必須停止工作,撤出人員,切斷電源,進行處理。
(6)回風巷風流中瓦斯濃度超過1%或二氧化碳濃度超過1.5%時,必須停止工作,撤出人員,采取措施,進行處理。
(7)工作人員要進入工作地點前,應先觀看瓦檢牌板,當工作地點瓦斯超限時,不得進入工作地點。
(8)對因瓦斯濃度超過規定被切斷電源的電氣設備,必須在瓦斯濃度降到1%以下時,方可通電啟動。
(9)瓦檢員交接班要在指定的地點進行,交清當班情況。
三、綜合防塵係統
對工作麵、運輸道、風道均應采取綜合防塵措施。
(一)防塵管路係統
主井地麵消防火水池→主井井筒→采區運輸道車場→101工作麵運輸道→101工作麵。
(二)防塵措施
采區運輸道、工作麵運輸道(風道)設2寸防塵管路,每隔100米設1寸支管及閥門,在工作麵下裝載點設噴霧,工作麵及兩巷內煤塵必須每班及時清掃,並灑水消塵,裝載時噴霧。
(三)隔絕瓦斯、煤塵措施
1、工作麵各處噴霧及水幕要有效地打開使用,且噴霧效果要良好。
2、工作麵運輸、回風巷口段,距巷道頂板100-150mm處全斷麵懸掛總長度不小於30米的隔爆水棚,棚間距1.2-3米,保證有400L/㎡的水量。
3、應每周檢查一次隔爆水袋,當水少時及時補水,當煤塵大時及時換水。
四、防治煤層自然發火技術措施(略)
五、通風、防塵、消防火管路、安全監測係統布置圖。
第三節 排 水
工作麵湧水均自行流入,工作麵運輸道水溝至井底水倉,排水係統見圖9。
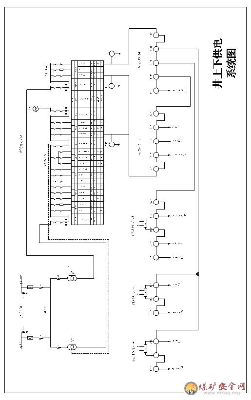
第四節 供 電
一、供電係統
工作麵供電由井下配電站引至工作麵配電站直接供電。煤電鑽信號使用127V電壓,運輸機、乳化液泵等使用660V,電壓等級、用電設備及負荷如下表:





第五節 通信照明
一、通信係統
礦井設調度值班室及值班人員,設一部24門調度電話總機,其中:一個采煤工作麵的運輸道、風道各一部,二個掘進工作麵各一部,主井底車場一部,總排風道一部,集中配電硐室一部,水泵房一部,均為防爆型電話,計8部電話分機。地麵裝設9部電話分機,其中:礦長辦公室一部,礦值班室一部,機電、通風辦公室各一部,絞車房,把鉤房一部(另設置直通電話),礦燈房一部,監控室一部。地麵變電所、空壓機房各1部。調度總機與市線電話裝設中繼線,便於外界聯係。
二、照明係統
工作麵運輸道每隔50米安裝一盞照明燈,轉載點等安設照明。
三、通信、照明係統,見下圖。




第二節 提高煤質的措施
一、提高工作麵的工程質量,杜絕冒頂02manbetx.com 的發生。
二、回柱時打齊密集、掛好大笆,嚴防竄矸。
三、及時掛梁過頂,維護好頂板,防止掉漏。
四、運輸巷下幫不得少於3個矸子窖,規格為(2m×1.5m×煤厚),並設專人揀矸入窖。
五、嚴禁打頂、打底或打在夾矸中。
六、煤層變薄時必須控製采高,盡量不破頂底板,采高不得大於煤厚。
七、如遇較大構造及時增補措施。
第七章安全技術措施
第一節 一般規定
一、施工前的規定
施工前,由段(隊)長負責組織,由技術員(編寫人員)負責傳達批準的《301炮采工作麵作業01manbetx 》,傳達後進行考試、簽字,成績合格方可下井作業,不合格的人員必須補考,補考合格方可下井作業。輪休或請假的人員上崗前必須進行學習,並考試合格。幹部工人學習、考試成績分別登記在《1201炮采工作麵作業01manbetx 》貫徹考試記錄表上。
二、工作麵按裝措施
(一)開切眼概況
開切眼長50米,跟頂掘進,傾角15度,采用錨杆支護,煤幫采用竹笆配合鐵絲錨杆支護,頂板大部分完整,支護狀況良好。
(二)方法
1、用單體液壓支柱配合Π鋼頂梁,齊梁齊柱走向布置,兩梁一對,一梁二柱,200/2000/200mm前後定位,垂直指向煤壁且抵近開采一側煤壁。
2、升柱時,禁止人員來回走動。
3、升柱時,應將柱腔中的空氣排盡。
(三)工序
1、認真檢查開切眼幫頂,空頂空幫必須接實背嚴。
2、清理淨開切眼內浮煤(矸)等雜物,安裝生產係統機電設備,保證淨高在1.3米左右,自滑溜靠幫達平直要求。
3、按要求自下而上給梁打柱。
4、拆除的鐵道等及時運到上出口50米外巷道一側碼放整齊,數量達要求時,要及時運走升井,不得影響通風,行人及運輸。
5、開幫回采,架設支架達放頂距離,待初次放頂。
(四)技術要求及安全注意事項
1、裝麵前,風量必須滿足正常生產要求,機電設備及有關生產和安全設施必須齊全完好。
2、給棚必須兩人在一茬自下而上逐棚進行,茬間距不小於15米。
3、拉線支柱,準確定位,支柱前後定位200/1000/200mm,柱距1000+100mm,排距1000+100mm,做到支柱橫豎成行、正規有勁。
4、支架正規有勁完整,支柱棵棵進行礦壓監控,初撐力不小於70kN。
5、支柱必須棵棵穿鞋,超高處必須下底梁。
6、支架跟頂架設,不丟頂煤。
7、升棚時必須過嚴接實頂板,片幫沿走向大於0.3米處要及時進行超前臨時維護。
8、替棚時要敲幫問頂,必須先清理好退路。
9、支柱要拴齊拴牢防倒繩,防倒繩拴在柱帽和三用閥之間。
10、運送支柱、π鋼等時要穩,防止碰手碰腳。
11、必須配備專職礦壓監控員,不得空班,不得漏檢,支柱初撐力的合格率必須大於80%。
12、及時搞好超前支護。
13、先給好端頭支護,“四組八架”。
三、初次放頂
根據本工作麵煤層賦存條件,頂底板岩性,結合以往經驗,決定從機尾開幫生產,放頂順序自上而下進行,為確保初次放頂安全,特製定以下補充措施,施工中遵照執行。
(一)組織準備
1、初放前,由生產礦長任組長,技術負責人及有關生產科室人員組成初放領導小組,嚴格監督,貫徹初放措施。
2、初放前,初放領導小組成員必須認真檢查裝麵措施執行情況,工作麵上、下出口、運輸、回風巷超前支護,車窩及工作麵規格質量,特殊支架的數量質量,不具備初放條件,禁止放頂。
3、初放前,工具材料準備齊全,風巷應不少於50根大料,6車小材,6車大笆。
4、初放期間,必須有初放領導小組成員、安監員、段跟班人員跟班到現場全麵認真檢查,不具備放頂條件,禁止放頂。
5、初放期間,必須在工作麵建立台賬,查麵記錄,認真記錄礦領導跟班、查麵的時間,同時記錄領導的建議和對安全工作的指示。
(二)初放安全技術要求
1、工作麵采完第一循環後,在副邦選給好臨時支護,頂帽使用:長×寬×厚=0.5×0.2×0.15米,排距1.0米,柱距1.0米。
同時打好第一排挑頂眼,距付邦1.0米,仰角75度,眼深3.0米,眼距1.5米,先不裝藥。
2、工作麵采完第二循環後,同上麵打好臨時支護,同時打好第二排挑頂眼與第一排挑頂眼形成三花眼,排距2.0米。
3、工作麵采完第三循環後,兩排挑頂眼,才允許裝藥,每孔裝藥量1.2kg,炮泥封滿,裝藥後,將雷管腳線連接好,引到支護區。
4、由下往上回收臨時支護,將工作麵支護縮為最小控頂距2.4米,靠付邦沿切頂線,每棚間內打一棵戧頂子,穿鞋帶帽,迎向付邦。此時,最大控頂距5.4米,放頂步距2.0米。
5、放挑頂眼時,必須從下往上一個茬進行。工作麵內停止與放挑頂炮無關的一切工作,聯炮時,必須2人作業,一人聯炮,一人負責觀察頂板。
6、嚴格執行四人聯鎖放炮製。
7、放炮線長度75米,警戒距離75米,放炮距離75米,放炮員必須親自送警戒人員,警戒人員必須在警戒地點設好警戒繩,警戒牌,放完炮後,方可撤除警戒繩和警戒牌。
8、拉溝炮放完後,不能形成拉溝時,可翻掉2棵密柱,在距離密柱0.5米處,重新補打2棵相距0.7米的臨時頂子,重新補打挑頂眼進行處理,嚴禁空頂作業。
9、工作麵拉溝形成後,每一個循環打一次挑頂眼進行放頂,眼距2.0米,眼深3.0米,仰角75度,每孔裝藥量0.9千克,封泥封滿,向老塘側翻茬。
10、采空區頂板冒落高度達到采高1.5倍時,並經有關部門驗收,合格後方可認為初次放頂結束。此後采用全部陷落法管理頂板。
第二節 頂板管理
一、支護和放頂
1、開工前班長必須全麵認真檢查煤壁、支架頂板等情況,確認安全後方準作業。
2、嚴格執行敲幫問頂製度,進入煤壁工作時,必須經常進行敲幫問頂,並掛齊頂梁,過好頂,具有一人監視頂板與煤壁,嚴禁空頂作業,嚴防冒、掉頂傷人。
3、出煤移梁三人一組,自上而下,嚴禁單人作業。
4、架設支架要注意頂板和臨近支架狀況,發現異常立即停搶處理。
5、嚴禁支架超高和空頂作業。
6、工作麵嚴禁單棚,加補棚或調整棚時應二梁三柱同時架設。
7、頂板破碎和片幫大於0.3米時,應掏梁窩,及時進行超前支護,背嚴幫,接實頂,嚴防冒、掉頂傷人。
8、及時打好背幫柱,腰嚴背實煤幫,嚴防煤壁片幫傷人。
9、支設貼幫柱,必須支一棚栓一棚防倒繩。
10、所有支柱,必須穿齊鐵鞋,鑽底還超過規定時,鐵鞋下麵須墊梁料以增大底板比壓,支設牢固,嚴禁架設在浮煤(矸)上。
11、所有支柱拴齊牢防倒繩,防倒繩拴在柱帽與三用閥之間,且必須每支一棚拴一棚。
12、支柱柱頂與頂梁麵接觸,嚴禁點線、點麵接觸。
13、煤壁采直刷齊,不留傘簷、夾矸,及時移梁過頂,嚴防冒、掉頂傷人。
14、嚴禁缺梁少柱和架設等勁棚。
15、損壞的柱、梁要及時更換,嚴禁使用壞損的柱、梁,工作麵壞柱、壞梁及時運出工作麵。
16、工作麵刮板輸送機機頭,機尾打齊打牢壓車柱並拴牢防倒繩。
二、放頂線管理
1、正常情況下,采空區側回柱前應每棚間打一切頂密集並掛好大笆以防竄矸。
2、工作麵支柱必須保持全承載。
3、懸頂處理:當老塘懸頂麵積達2×5㎡時,采取相關措施,措施另補。
三、支護用品使用管理
1、進入工作麵的支柱頂梁,必須檢查合格後方可下井,嚴禁不合格柱梁進入工作麵。
2、新入井的支柱,三用閥必須上緊,防止迸出;第一次使用時,支柱支設應先將柱升降(最大行程)2-3次,排淨柱腔內的空氣,才能使用。
3、每班均要對工作麵的支護用品進行檢修並相應增補。
4、單體支柱在搬運時要輕拿輕放,嚴禁碰撞,嚴禁用鍾等物品敲打柱缸和柱體。
5、π鋼頂梁必須垂直工作麵煤壁使用,損壞變形的頂梁不得使用。
6、工作麵支柱全承載,梁子在材料道靠放好。
7、嚴禁單體液壓支柱超高超低使用。
8、不同類型或不同性能的支柱,嚴禁混用,特殊地段除外,支柱活柱升出量不得小於150mm,嚴禁超高回采。
9、嚴禁使用不合格的支柱,發現漏液及損壞的支柱,要及時更換。
10、工作麵壞柱壞梁及時運出,達一定數量後升井,並增補完好的柱梁。
四、兩巷支架回撤
1、回撤前,首先加強巷道支架維護和浮煤矸清理工作,確保巷道安全暢通。
2、回棚前首先準備好拔柱器、卸載後把、長釺等回棚工具等。
3、回棚時,要嚴格執行敲幫問頂製度,找掉懸岩危矸。
4、回出後,用卸載手把緩慢卸載支柱,拉出棚梁和支柱。
5、回出的木料要及時運出巷道,堆放在指定地點不得影響行人、通風及運輸。
五、防帽頂預防
1、回采過程中應防止草帽頂的掉落,防止掉頂冒頂的發生。
2、煤壁必須采直刷齊,不得留有傘簷,當煤壁鬆軟片幫嚴重時,必須超前管理頂板,打齊背幫柱。
3、進入煤壁工作前,必須堅持敲幫問頂製度,設專人觀察頂板並掛齊頂梁,嚴禁空頂作業。
4、工作麵嚴禁出現大棚檔和單棚。加補棚或調整棚時,應兩梁三柱同時架設。
5、放炮和回柱放頂前,必須對頂板進行維護,整改不合理支架,嚴禁空梁、空幫、空頂現象。未維護好嚴禁放炮和回柱放頂。
6、加強初撐力管理,開工前必須對人行道兩側支柱進行二次注液,確保支柱初撐力不低於70KN。
7、嚴禁使用折損的坑木,損壞的π鋼頂梁和失效的單體液壓支柱,嚴禁支柱超高回采。
8、兩巷超前管理,嚴禁提前拆卸。
六、冒頂處理
1、工作麵冒頂時 ,首先檢查冒頂情況,冒頂的寬度、高度、上方頂板的穩定情況等。
2、加強冒頂兩頭的頂板管理,先使棚補上單體,支柱升足勁,防止進一步擴大。
3、安排有經驗的老工人處理冒頂,處理冒頂時,堅持敲幫問頂製度,找掉活矸危岩,支護好頂板,並設專人觀察頂板及周圍安全情況,嚴禁空頂作業,清理好退路。
4、如上方頂板已穩定,矸石已掉空,可采用直接使棚裝木垛的方法處理,木垛要接頂,最上一排要用木料排嚴,防止掉矸傷人,頂板來壓掉渣時人員不得進入冒頂區。
5、裝木垛前,首先檢查空頂處瓦斯濃度,若發現瓦斯濃度達到1.0%時,立即采取措施進行處理,待處理好後方可進行作業。
6、如上方頂板不穩定,矸石沒掉空,可采用打撞楔、刹木料的方法,托住破碎岩層,然後在其下麵使棚,並用木料過嚴過實頂板。
7、使棚後煤壁必須用木料、板皮等背幫。冒頂處的岩石向老塘充填或拉入機巷,揀入矸石窯。
8、加強段隊現場跟班製度,現場解決實際問題,嚴把安全關和工程質量關。
第三節 防排水
該礦煤層水文地質條件較簡單,在101工作麵運輸、回風道、開切眼掘進中,未發現頂板有滴、淋水現象,相鄰的采空區內基本無積水。
一、若工作麵回采過程中發現頂板有滴、淋水現象,應及時與地測部門聯係。
二、如果工作麵出現透水預兆(掛紅掛汗,空氣變冷,產生霧氣,煤壁變潮,底板鼓起等)應及時彙報礦調度,並停止作業,如情況緊急,應立即發出警報,並通知可能受水災威脅的人,沿避災路線撤退。
第四節 爆破管理
一、打眼
1、打眼工必須經過專業培訓,專職打眼。
2、電鑽聯、啟、閉必須靈活,零部件齊全,電纜及綜合保護必須完好,跨輸送機的電纜沿人行道掛好,否則不準 操作。
3、選擇合格的電鑽、鑽頭、並安設牢固。
4、作業前應抹掉手套,紮緊袖口,係好毛巾,認真觀察頂板及圍岩情況,發現隱患,應及時處理。
5、禁止在舊眼、殘眼內或在煤(岩)裂縫中打眼,禁止用打眼的方法加深炮眼殘底,禁止站在自滑溜上打眼,打眼過程中,禁止用手或戴手套扶托鑽杆。
6、打眼工應按作業規程中爆破說明書的炮眼布置方式打眼且不打夾矸,對凹凸不平的煤壁要根據情況減小或加大眼深,保證放炮後煤幫平直,采高和煤幫都必須符合作業規程要求。
7、打眼時應沿著電源方向由遠而近,並時刻注意煤壁及支護狀況,點眼前應敲幫問頂找掉傘簷和鬆動的煤矸。
8、打眼時注意輸送機及其上方,防止被煤矸等雜物碰傷。
9、電鑽點眼要斷續啟動,打眼時要托穩電鑽,均勻用力推進並往返拉動鑽杆,拉出眼內煤岩粉。
10、挪動電鑽時,應輕拿輕放,遠距離挪動應將電纜插銷摘開。
11、頂板破碎時,禁止打頂眼,正常情況下,視頂板具體情況確定,嚴禁破壞頂板。
12、炮眼布置要錯開支架,禁止正對支架,防止蹦跨棚。
13、有下列情況之一者,不準打眼或立即停止打眼,在向礦調度和礦值班彙報並妥善處理後,方可繼續打眼:
①工作麵風流中瓦斯濃度達到1%時。
②發現煤層內有連續小煤炮聲響、大量瓦斯湧出或有煤與瓦斯突出預兆時。
③發現煤層變潮、煤質鬆軟、有掛紅、掛汗、出現霧氣、水叫、頂板淋水加大、空氣變冷等透水預兆時。
④打眼中突遇壓力水從鑽孔中流出時應立即停鑽,並不準抽動鑽杆。
⑤工作麵有局部頂板來壓,片幫嚴重時。
⑥控頂距離或空頂距離超過作業規程規定時。
⑦支護不齊全,不牢固或倒棚未扶處。
⑧對上述①-④條情況緊急還必須立即發出警報,撤出所有受威脅地點的人員。
15、打眼結束後,切斷電源取下電鑽,將電鑽、鑽杆、電纜撤至工作麵上、下出口20米外的安全地點,並將電纜盤成“O”型懸掛。
二、裝藥
1、放炮員必須持證上崗,裝藥放炮必須由專職放炮員進行。
2、引藥由放炮員在回風巷安全地點按《煤礦安全規程》第三百二十六條規定執行。
3、引藥必須單獨的放在藥包裏,並由放炮員從人行道帶進工作麵裝藥地點。
4、裝藥前必須認真檢查,違反《煤礦安全規程》第三百三十一條不準裝藥放炮。
5、裝藥時,按《煤礦安全規程》第三百二十七條執行。
6、炮眼封泥應用水炮泥,水炮泥外剩餘的炮眼部分應用粘土炮泥或用不燃性的、可塑性鬆散材料製成的炮泥封實,嚴禁用煤分、塊狀材料或其他可燃性材料作炮眼封泥,炮眼深度和炮眼的封泥長度必須符合《煤礦安全規程》第三百二十九條規定。
三、放炮
1、嚴格按照微差爆破技術要求的管段秩序操作,嚴格執行“一炮三檢”、“三警戒”和“四人聯鎖放炮製”。
2、放炮前,班組長必須親自布置專人擔任警戒,放炮地點上、下30米內嚴禁有人,兩巷口的安全警戒距離為不少於60米。
3、放炮前,認真檢查放炮器、母線、瓦檢儀、警戒牌等,不齊備和達不到完好標準的不準放炮。
4、放炮前,必須認真檢查放炮地點頂板、煤壁、支架等情況,不具備條件嚴禁放炮。
5、放炮時,班組長清點人數,必須親自下達放炮命令,若第二次放炮,程序跟第一次一樣。
6、放炮地點20米內風流中瓦斯濃度超過1%時,必須采取措施,處理好後方可聯線放炮。
7、放炮時,放炮員接到放炮命令後,吹三遍口哨並喊“放炮啦”,至少等5S後,方可起爆。
8、禁止使用兩台放炮器同時起爆,嚴禁放糊炮和用明火、明電或其他動力起爆。
9、放炮及聯線須沿風流方向,放炮員聯線和拉線要走人行道,並攜帶好放炮器的手把或鑰匙,不得轉交他人。
10、拒爆時,先停留15min後,再沿線路檢查,如因聯線造成的,重新聯線放炮,仍不爆者,作一記號,按瞎炮處理、
11、處理瞎炮、殘炮的方法:由原打眼工在距原眼300mm處打一平行於原眼的眼,裝藥放炮,並注意查找原未爆的電雷管,禁止使用鎬刨殘炮、瞎炮,禁止使用打眼的方法加深殘炮眼,處理瞎炮時應由班組長和放炮員負責,其他人員應撤離到30米以外。
12、可分組裝藥,但每一組裝藥必須一次起爆。
13、放炮後,等吹散炮煙完畢,放炮員和班組長必須巡視放炮地點,檢查通風、瓦斯、煤塵、頂板、支架、瞎炮、殘炮等情況,發現問題,立即處理,經確認無危險後方可撤回警戒,進入人員作業。
14、裝藥的炮眼必須當班放完,若遇特殊情況無法當班放完,放炮員必須在現場向下班放炮員交清情況。
四、放炮采煤注意事項
1、放炮後及時臨時維護頂板。
2、嚴格執行敲幫問頂製度,進入煤壁作業時,必須經常進行敲幫問頂,嚴禁空頂作業,以防掉頂傷人。
3、工作麵煤壁棚背幫,並用塘柴等料背實,防止片幫、掉頂。
4、回柱與打眼平行作業時,間距不小於15米。
5、采煤與回柱平行作業時,間距不小於15米。
6、采煤與放炮不得平行作業。
7、回柱與裝藥放炮不得平行作業。
8、放炮時,各種管線、電纜等要用皮帶、大板等蓋好。
五、火工品管理
1、放炮員憑計劃單領取炸藥和雷管,核對數量後分別裝入藥包和容器內,雷管必須由放炮員攜帶,炸藥在放炮員的監護下由熟悉《煤礦01manbetx 》的規定人員送到施工地點,放炮員清點後,將藥和雷管分放在藥箱內。
2、炸藥箱必須放在風巷內頂板完整、支架完好、避開電器設備和警戒線以外的安全地點,並加鎖。
3、炸藥和雷管必須由放炮員分別存放在專用的藥箱內,嚴禁亂扔亂放。
4、放炮後,剩餘的管藥必須當班交回藥庫。
第五節 一通三防及安全監控
一、瓦斯防治
1、嚴格執行瓦斯檢查製度,每班檢查不少於3次,嚴禁空班漏檢。
2、嚴格執行“一炮三檢”製度,發現問題及時處理。
3、防止瓦斯積聚,嚴禁超限作業。
4、加強通風管理,愛護通風設施,保證足夠風量。
5、加強上、下隅角瓦斯管理,必要時兩端頭支柱須提前回掉一排及設風障吹散,如仍有瓦斯超限,必須采取措施處理。
6、回風巷須按規定安設瓦斯斷電儀,上隅角須懸掛瓦斯報警儀,班隊長、放炮員須攜帶瓦斯檢測儀並正確使用,儀器靈敏可靠。
7、管理好風門,兩道風門不得同時打開,有損壞的風門及時向通風段彙報。
8、未盡之處按《煤礦01manbetx 》有關條款執行。
二、綜合防塵
1、完善防塵係統和防塵設施,出煤係統各轉載點設齊灑水噴霧裝置並保持完好,做到開車噴霧,運輸、回風巷各設兩道淨化風流的水幕,噴霧水壓達到要求,各防塵設施正常使用,並設專人維護和管理,由通風段安裝維護,由生產單位管理和使用。
2、出煤係統各轉載點落差不得超過0.5米。
3、上下兩巷必須保證水源、水壓,定期衝刷巷道壁,減少煤塵堆積。
4、定期清理煤塵,防止煤塵堆積、飛揚。
5、采用濕式打眼,嚴格執行水泡泥使用和煤層注水製度。
6、工作麵按規定采夠高夠寬,兩巷雜物及時清理運走,以確保正常的通風斷麵,風巷材料分類碼放整齊,保證通風斷麵不小於設計斷麵的70%。
7、放炮時要打開上風巷的噴霧灑水裝置。
8、運輸、回風巷內確保隔爆水袋齊全完好。
9、機械保護齊全,做好個人防護。
10、未盡之處按《煤礦01manbetx 》有關條款執行。
三、防滅火
1、入井人員嚴禁攜帶煙草和點火物品,嚴禁穿化纖衣服下井。
2、加強機電設備維護與管理,杜絕失爆,不帶電檢修,搬遷電器設備,防止引起電火花,產生火災。
3、加強通風管理,杜絕瓦斯積聚和煤塵超限。
4、嚴格按照前述要求,加強放炮和火工藥品的管理。
5、如果發現井下著火,首先要切斷電源,采取一切可能方法滅火並迅速和礦調度、礦值班人員聯係,如火勢太大,無法撲滅,要迅速帶上自救器,有組織地沿避災路線撤退(回風口人員應從捷徑盡快進入新鮮風流),並通知任何一個可能受火災威脅的人。
6、工作麵做到采後及時封閉。
7、未盡之處按《煤礦01manbetx 》有關條款執行。
四、通風安全監控
1、安全二台甲烷傳感器,工作麵上隅角、回風道各安一台,T1、T2掛於距頂板不超過200mm,距幫不小於200mm處。
2、T1、T2的斷電範圍為工作麵及其進、回風巷內所有非本質安全型電器設備。
3、機電部門負責監控裝置接通電源和控製線,在連接時必須有監測人員在場監護。
4、通風段監測隊負責監控裝置的安裝、調試和維護工作。
5、監測裝置由所在段隊長、班組長負責保管使用,如有損壞及時彙報,對經常移動的傳感器由班隊長按規定移動,嚴禁擅自移動。
6、檢修與監測設備有關聯的電器設備,需要監測設備停止運行時,必須報告礦調度,並製定安全措施後方可進行。
7、當瓦斯超限監測裝置報警或斷電時,現場人員有責任向礦調度彙報,並通知通風段加強人工監測,因此而斷電的地點嚴禁強行送電和自動複電。
8、未盡之處按《煤礦安全規程》有關條款執行。
第六節 運輸管理
一、一般規定
1、工作麵的運輸設備,在停止運轉時應由工作麵向外依次停止,啟動時應由外向工作麵依次啟動,停號傳遞準確可靠。
2、工作麵必須安設有載波閉鎖係統。
二、物料的打運
1、裝料卸料時要穩,防止碰傷。1.8米以上木料、大笆要用叉車裝運,2.0米以上的單體液壓支柱,用專用車裝運,π鋼必須用叉車裝運,每車裝木料25根,單體20根,π鋼35根,用繩捆牢,嚴禁超裝。塘柴、鐵鞋等用車皮運,不得超出車沿,裝π鋼、支柱時要考慮拉上山、鬆下山,兩端長短要適宜。
2、絞車司機必須持證上崗,開車前必須檢查各種安全設施,聲光信號是否安好,按鈕是否靈敏可靠,並安裝在躲避硐室,做到行人不行車,行車不行人,絞車走鉤後,繩道禁止行人,人員全部進入躲避硐室。
3、不準超掛車,不得用其他物料代替礦車銷子,不準跟車上、下。
4、軌道必須保持安好,接頭、夾板、螺絲齊全,絞車地錨要牢固,開車前,必須打牢壓車柱,絞車鋼絲繩有斷絲、窩鼻要及時更換,嚴禁放飛車,必須帶電鬆車,平巷推車要保持10米以上車距,過風門、拐彎要喊話,兩道風門嚴禁同時打開。
5、使用回頭滑輪,要固定在正規有勁的霸王樁上,嚴禁固定在棚子上,繩道不要有人,回頭拉繩不要拉偏勁。
6、發現掉道,必須打點停車,等車停下來後,傳清信號方可處理,拿道時人員嚴禁在兩幫扛拉礦車,鐵料車必須把鐵料卸掉拿道,拿上道後重新裝車,嚴禁用絞車硬拉或人員用肩抗、手拉拿道。
7、保險擋、阻車器齊全完好,必須正常使用。
三、輸送機運輸物料、設備措施
1、裝運物料前,須認真檢查刮板輸送機各零部件完好程度,確認安全無損後,方可正式操作運行。
2、運輸機司機須經過培訓,持證上崗,嚴格按01manbetx 操作。
3、運輸機司機須經常檢查電機溫度,發現電機有過熱現象須及時停止運輸物料、設備。
4、司機應在錯開機頭的安全地點,眼不離機頭,手不離按鈕,集中精力開車,且必須確認信號,按規定信號開停刮板輸送機,開車時,發出開車信號,確認人員已離開機器轉動部位,點動2-3次試車後,才準正式開動,發現異常情況及時停車處理。
5、後麵一部車裝運物料、設備時,其前一部車嚴禁開動。
6、裝運物料、設備須集中裝運,有跟班幹部在現場監督指揮。
7、往刮板輸送機裝長物料、設備時,應先放前端後放後端,從刮板輸送機取長物料、設備時,應先取後端後取前端。
8、運送較高的物料、設備時,應跟隨物料、設備前進,以便發現問題及時停車;過高、過寬的物料、設備嚴禁用刮板輸送機裝運。
第七節 機電管理
一、刮板輸送機的使用
二、電氣的維修
1、所有電工要熟悉掌握電氣設備使用性能一般維修技術,嚴格執行《煤礦安全規程》中的有關電氣部分的規定。
2、電氣維修必須按照《煤礦安全規程》做作業,嚴格停送電製度,堅持停電掛曆牌,或專人看管,誰停電誰送電。
3、所有電氣保護靈敏可靠,不準隨意撤除不用,當保護不靈時,應停電處理,處理不好不準強行送電。
4、要定期檢查設備的防爆性能,絕緣保護性能,對不符合要求的設備,配件及時更換。
5、設備的整定值必須符合要求,不得擅自更改。
6、移動電氣設備時,必須停電,嚴禁帶電作業。
7、電氣保護實驗,按規定日期做好記錄。
8、更換電機等設備時要軸頭、結合部、電纜等進行保護。
三、泵站
1、啟動泵站前,應首先進行檢查,保證各部件無損傷、各連接螺絲緊固、潤滑油位正常、液位適當、密封完好、乳化液配備合理、自動配比裝置完好、各種保護齊全可靠、運轉方向為正向。
2、泵啟動後,如有異常要立即停泵處理,嚴禁帶病運轉,嚴禁反向運轉。
3、當工作麵管子破裂時,要立即停泵處理。開泵前必須向工作麵發出開泵信號,再等5S後開泵。
4、檢修或更換泵的機械液壓元件時,必須把開關的隔離手把打到期零位,嚴禁帶壓操作。
5、加強液壓係統的清潔衛生,泵箱過濾器定期清洗,各種膠管液壓元件應保持清潔,嚴禁泵箱開口,嚴禁不經過過濾網直接向泵箱倒入乳藥液。
第八節 其他
一、運輸巷、回風巷、錨杆支護巷道的維護
1、加強對巷道的維護,發現巷道變形、棚子失效、錨杆支護失去作用,不能有效支護時,應及時架棚或打點柱維護。
2、架棚維護嚴禁架設等勁棚。
3、要經常安排專人將頂板上易掉落的危岩懸矸找掉,以免掉落傷人。
4、維護巷道每組至少兩人操作,不準一人單獨作業,維修時,隨時注意頂板,防止頂板掉矸傷人。
二、做矸石窖和工具房的安全管理
1、在做以前必須使好一梁兩柱的挑棚,過好頂上打上勁。
2、打雙排眼每眼裝藥150g,並按要求裝藥放炮。
3、放炮前必須將電纜用大笆多層蓋好,完好警戒人,距離不少於50米。
4、出煤時人員不得進入裏麵攉煤。
5、嚴禁人員進入矸石窖,兩矸石窖間距不低於5米。
6、矸石窖與工具房內必須打好帶帽點柱。
7、矸石窖與工具房深度不超過1.5米,寬度不超過2米,高度為巷道高。
三、兩巷文明生產
兩巷文明標準:兩巷文明清潔整齊,專人承包,無積水無汙泥無雜物,管路吊掛整齊,材料分類碼放整齊掛牌管理,圖牌板、安全標語齊全清晰醒目。
四、圖牌板管理
(一)圖牌板內容
1、工作麵平麵圖;
2、工作麵剖麵圖;
3、工作麵避災路線圖;
4、工作麵爆破圖;
5、正常生產期間異常地段(02manbetx.com 多發點)安全管理責任表。
(二)懸掛位置
工作麵向外回風巷50米,頂板完整,無淋水滴的地方。專人管理,圖板清晰醒目,製圖規範。
五、煤炭質量與資源回收
1、加強工作麵的工程質量,杜絕冒頂02manbetx.com 的發生。
2、回柱時打好密集掛好大笆,嚴防竄矸。
3、及時臨時支護,維護好頂板,防止掉漏。
4、機巷下幫不得少於三個矸子窯,其規格為2m×1m×采高,並派人撿矸入窯。
5、炮眼嚴禁打頂、打底或打在夾矸中。
6、加強工作麵采空區側浮煤清理,確保2㎡範圍內浮煤平均厚度不超過30mm。
7、加強資源管理,提高資源回收率,資源回收率不低於95%。
8、為保證回采率,當煤層厚度大於1.5米應跟頂留底,采高不得大於1.5米,若煤層變薄時必須控製采高,盡可能不破頂底板,但采高不得小於1.2米。
第八章 災害應急措施及避災路線
一、災害應急措施
1、當工作麵發生頂板、瓦斯、煤塵爆炸、火災、水災等災害時,現場人員應立即將災害時間、地點、災害程度及受災害威脅的人員等向礦調度室及區隊彙報清楚,以便及時調動礦山救護人員救援和撤離受災害威脅的人員。
2、當工作麵發生災變時,現場人員應盡可能就地取材,控製災害,將災害控製在最小範圍內。
3、當工作麵發生災變時,現場人員應沉著冷靜,不慌忙,有序抗災或撤離災區。
4、當無法撤離災區時,應及時采用現場物料構築臨時避難場所,發出有規律的救援信號,等待救援。
5、當發生水災時,人員應沿最短路線向高處撤離災區。
6、當發生火災及瓦斯02manbetx.com 時,應及時佩戴好自救器並撤離災區。
7、進行避災時,沿途應做一定標記,以便救護人員及時營救。
8、當發生災變時,應盡量保持體力和節約使用礦燈等。
二、自救方式、互救、搶救方式
每一位入井人員應掌握自救和互救方法,當發生頂板、機械等傷害及觸電等事故時,應積極進行自救和互救,積極、及時進行人工呼吸及包紮止血等自救、互救方式進行救助,並應注意防止傷勢進一步擴大等。
三、避災路線
1、所有入井人員必須經過安全知識培訓,熟悉避災方法,知道應急措施且能自救互救。
2、當有害氣體超限或發生火災時,應馬上佩戴好自救器,並沿如下路線撤離。
(回風巷)→工作麵→運輸道→運輸車場→主井→地麵。
3、發生水災時可以從以下路線撤離
(運輸道)→工作麵→回風道→總排→副井。
四、工作麵避災路線,見下圖。
